授权公布号:CN220421820U
一种固定翼飞机多功能通讯中继飞行综合系统
有效
申请
2023-08-18
申请公布
1970-01-01
授权
2024-01-30
预估到期
2033-08-18
| 申请号 | CN202322235811.7 |
| 申请日 | 2023-08-18 |
| 授权公布号 | CN220421820U |
| 授权公告日 | 2024-01-30 |
| 分类号 | H04B7/185 |
| 分类 | 电通信技术; |
| 申请人名称 | 山河星航实业股份有限公司 |
| 申请人地址 | 湖南省株洲市芦淞区董家塅街道知行大街768号 |
专利法律状态
2024-01-30
授权
状态信息
授权
摘要
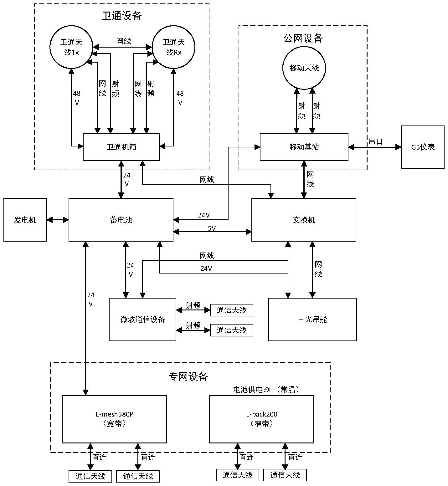
本实用新型公开了一种固定翼飞机多功能通讯中继飞行综合系统,包括电源以及与电源连接的卫星通信设备、公网通信设备、专网通信设备和吊舱机构,所述卫星通信设备、公网通信设备通过信息交换装置与吊舱机构连接;所述吊舱机构包括烟火识别装置、测距装置、人物识别装置和摄像装置的一种或多种。本实用新型在地面基础通信设备被自然灾害毁坏时可提供专网和公网的应急通讯,并且可以对现场的情况实时进行信息收集和传输,及多功能于一体,提高了应灾响应速度,解决了现有无人机通信中继系统的功能单一的问题。


