授权公布号:CN105609957B
一种多频段指环天线
有效
申请
2016-03-23
申请公布
2016-05-25
授权
2018-06-22
预估到期
2036-03-23
| 申请号 | CN201610170495.1 |
| 申请日 | 2016-03-23 |
| 申请公布号 | CN105609957A |
| 申请公布日 | 2016-05-25 |
| 授权公布号 | CN105609957B |
| 授权公告日 | 2018-06-22 |
| 分类号 | H01Q5/20;H01Q9/30;H01Q1/36;H01Q1/48 |
| 分类 | 基本电气元件; |
| 申请人名称 | 杭州平治信息技术股份有限公司 |
| 申请人地址 | 浙江省杭州市江干区九盛路9号A18幢5楼518室 |
专利法律状态
2020-03-27
专利申请权、专利权的转移
状态信息
专利权的转移;IPC(主分类):H01Q5/20;专利号:ZL2016101704951;登记生效日:20200309;变更事项:专利权人;变更前权利人:南京信息工程大学;变更后权利人:杭州平治信息技术股份有限公司;变更事项:地址;变更前权利人:210019 江苏省南京市建邺区奥体大街69号;变更后权利人:310000 浙江省杭州市江干区九盛路9号A18幢5楼518室
2018-06-22
发明专利权授予
状态信息
授权
2016-06-22
实质审查的生效
状态信息
实质审查的生效;IPC(主分类):H01Q5/20;申请日:20160323
2016-05-25
发明专利申请公布
状态信息
公布
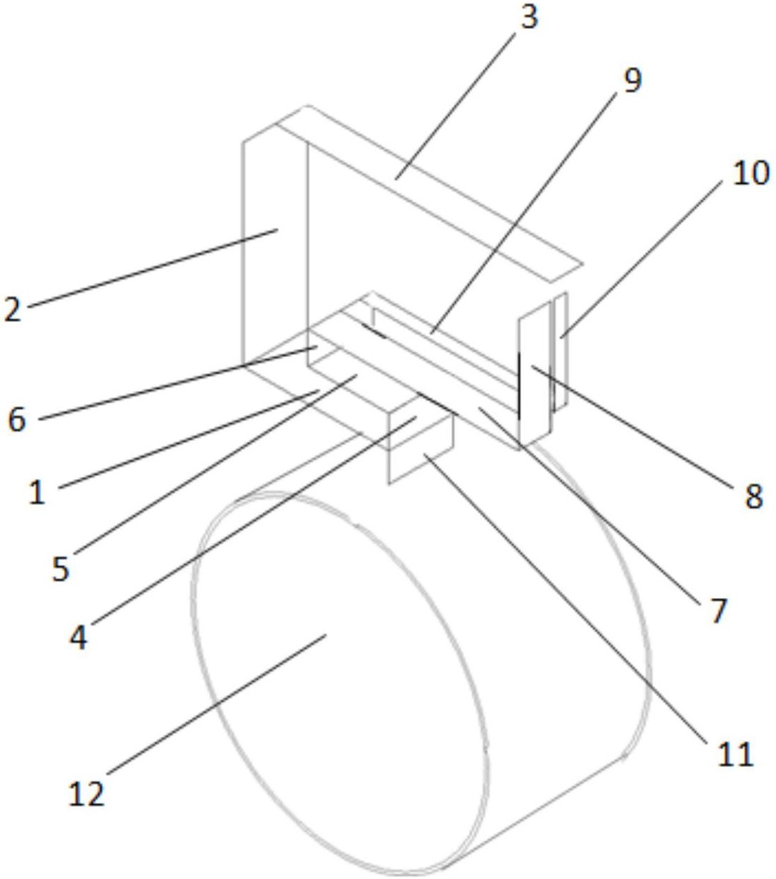
摘要
本发明提供一种多频段指环天线,该天线上半部分采用折叠L形结构,可以提高天线辐射性能以及调整覆盖频段,下半部分采用了空心圆柱结构,以满足可穿戴指环结构;本发明可以覆盖WLAN 2.45GHz频段(2.28‑2.53GHz)、3.5GHz WiMAX以及LTE Band42/43频段(3.4GHz‑3.8GHz)、WLAN 5.8GHz、WiMAX 5.8GHz频段(4.03‑6.76GHz);另外,本发明成本低,具有广阔的应用前景。


