授权公布号:CN103956565B
一种偶极子双极化LTE宽带天线
有效
申请
2014-04-21
申请公布
2014-07-30
授权
2016-08-24
预估到期
2034-04-21
| 申请号 | CN201410160801.4 |
| 申请日 | 2014-04-21 |
| 申请公布号 | CN103956565A |
| 申请公布日 | 2014-07-30 |
| 授权公布号 | CN103956565B |
| 授权公告日 | 2016-08-24 |
| 分类号 | H01Q1/36;H01Q1/38;H01Q1/50 |
| 分类 | 基本电气元件; |
| 申请人名称 | 杭州平治信息技术股份有限公司 |
| 申请人地址 | 浙江省杭州市江干区九盛路9号A18幢5楼518室 |
专利法律状态
2020-06-02
专利申请权、专利权的转移
状态信息
专利权的转移;IPC(主分类):H01Q1/36;登记生效日:20200512;变更事项:专利权人;变更前:广东晖速通信技术股份有限公司;变更后:杭州平治信息技术股份有限公司;变更事项:地址;变更前:523000 广东省东莞市东城区牛山外经工业园景观路主山工业区2号;变更后:310000 浙江省杭州市江干区九盛路9号A18幢5楼518室
2017-02-08
专利申请权、专利权的转移
状态信息
专利权的转移;IPC(主分类):H01Q1/36;登记生效日:20170113;变更事项:专利权人;变更前:华南理工大学;变更后:广东晖速通信技术股份有限公司;变更事项:地址;变更前:510640 广东省广州市天河区五山路381号;变更后:523000 广东省东莞市东城区牛山外经工业园景观路主山工业区2号
2016-08-24
授权
状态信息
授权
2014-08-27
实质审查的生效
状态信息
实质审查的生效;IPC(主分类):H01Q1/36;申请日:20140421
2014-07-30
公布
状态信息
公布
摘要
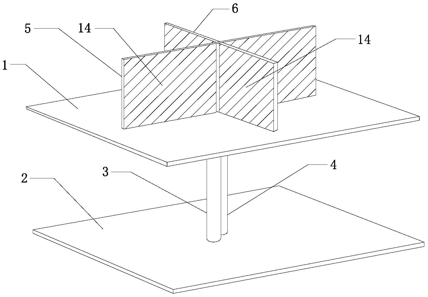
本发明公开了一种偶极子双极化LTE宽带天线,包括介质基板、金属地板,第一同轴线、第二同轴线、第一信号金属板和第二信号金属板,第一信号金属板和第二信号金属板直立设置在介质基板上且相互垂直;所述第一同轴线的内导体穿过介质基板后与第一信号金属板连接,外导体紧贴介质基板下表面,并通过介质基板与第一信号金属板连接;所述第二同轴线的内导体穿过介质基板后与第二信号金属板连接,外导体紧贴介质基板下表面,并通过介质基板与第二信号金属板连接;所述第一同轴线和第二同轴线的底端分别穿过金属地板后接SMA头。本发明具有较长的带宽,较大的增益,能够满足LTE手机基站天线应用于1.61Ghz~2.8Ghz的宽带高速无线通讯系统的要求。


