授权公布号:CN212829846U
一种肉食品运输装置
有效
申请
2020-06-09
申请公布
1970-01-01
授权
2021-03-30
预估到期
2030-06-09
| 申请号 | CN202021047473.4 |
| 申请日 | 2020-06-09 |
| 授权公布号 | CN212829846U |
| 授权公告日 | 2021-03-30 |
| 分类号 | B65D25/02;B65D85/50;B65D81/18 |
| 分类 | 输送;包装;贮存;搬运薄的或细丝状材料; |
| 申请人名称 | 湖北省利川市土家牧业有限公司 |
| 申请人地址 | 湖北省恩施土家族苗族自治州利川市凉务乡老河村一组 |
专利法律状态
2021-03-30
授权
状态信息
授权
摘要
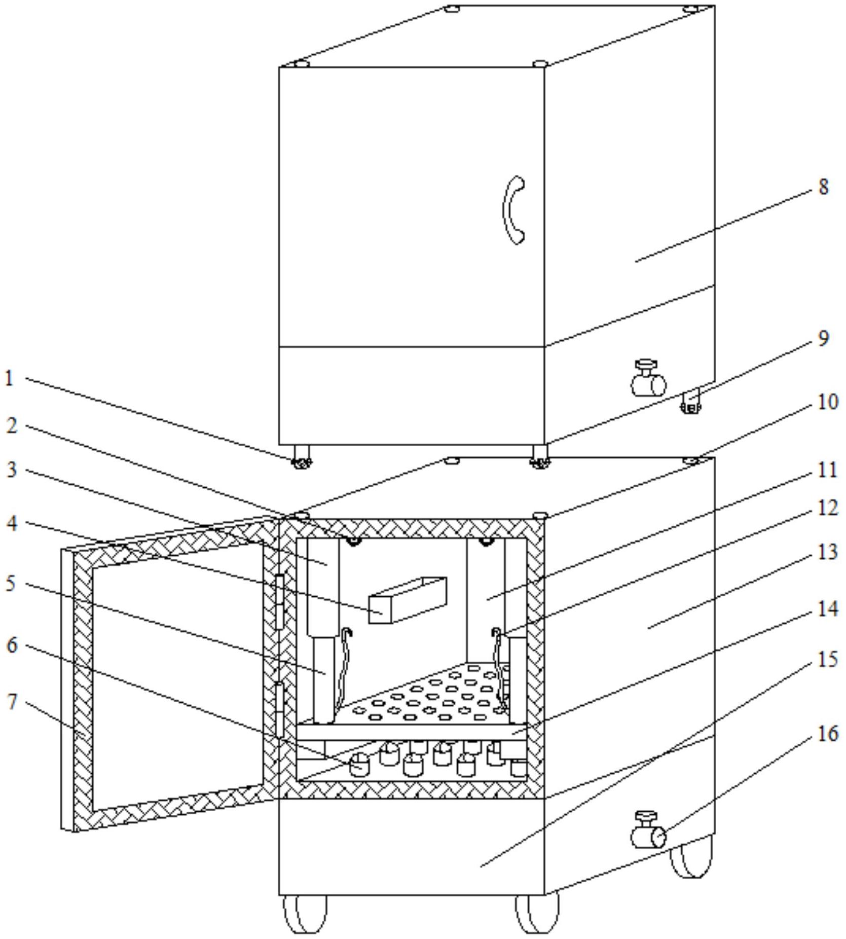
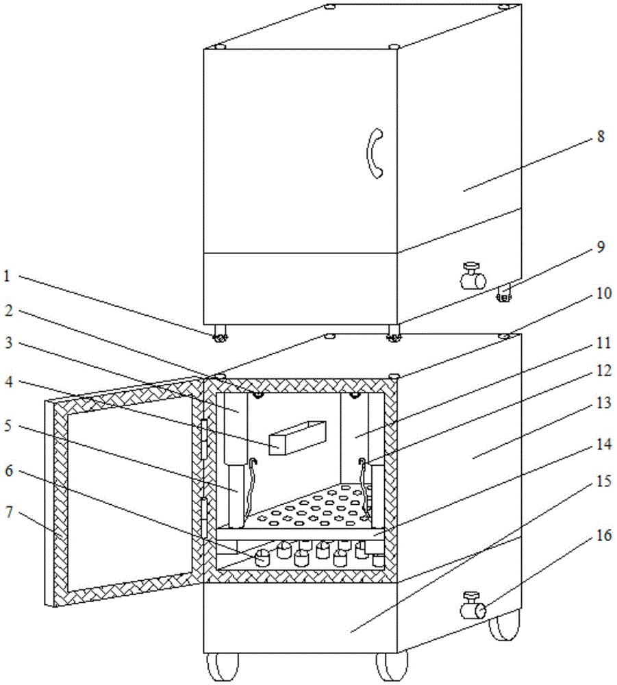
本实用新型公开了一种肉食品运输装置,包括第一箱体和第二箱体,所述第一箱体位于第二箱体的上方,所述第一箱体的底部四角设有用于连接第一箱体和第二箱体的连接机构,所述第二箱体包括储藏室和制冷室,所述储藏室位于制冷室的上方,所述储藏室和制冷室中部的隔板上贯穿有多个导热柱,所述储藏室内部滑动连接有放置板,所述放置板顶部一侧的两角均设有固定放置板位置的固定结构,所述储藏室内部两侧内壁均焊接有放置槽,所述放置槽顶部为敞口结构。本实用新型保存时间长且干冰或液氮不直接和肉食品接触,保证肉食品的肉质并保护工作人员的安全,可以改变储藏空间,且竖向设置节约占地空间、便于移动。


