授权公布号:CN218405188U
一种全齿轮传动的道闸机芯
有效
申请
2022-08-23
申请公布
1970-01-01
授权
2023-01-31
预估到期
2032-08-23
| 申请号 | CN202222224198.4 |
| 申请日 | 2022-08-23 |
| 授权公布号 | CN218405188U |
| 授权公告日 | 2023-01-31 |
| 分类号 | E01F13/06 |
| 分类 | 道路、铁路或桥梁的建筑; |
| 申请人名称 | 陕西奥特门业有限公司 |
| 申请人地址 | 陕西省西安市未央区未央区团结第二工业区55-56号 |
专利法律状态
2023-01-31
授权
状态信息
授权
摘要
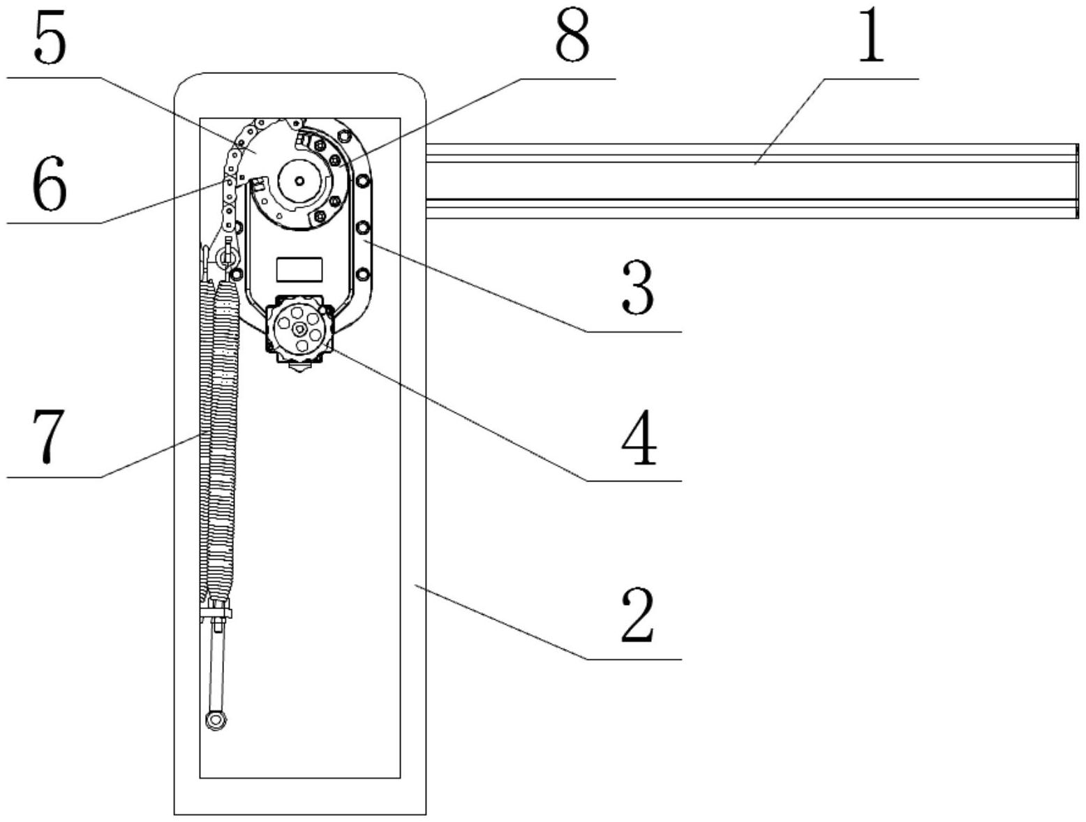
本实用新型公开了一种全齿轮传动的道闸机芯。现有道闸机芯有采用蜗轮蜗杆,虽可自锁,但传递效率低,且寿命短。本实用新型包括机箱,其上连接有减速传动机构,并由电机驱动;减速传动机构输出轴一端与闸杆连接,另一端与扇形链轮连接,扇形链轮上的链条一端与拉伸弹簧组件连接,拉伸弹簧组件与机箱连接;闸杆和拉伸弹簧组件对减速传动机构输出轴产生的扭矩方向相反;扇形链轮通过限位机构实现限位,保证闸杆在90°范围内转动。本实用新型采用全齿轮传动,传递效率高、功率损失小,产品使用寿命延长,在拉伸弹簧组件的作用下,闸杆位于不同的角度会锁死或缓慢降落。


