授权公布号:CN218202107U
一种电石锅翻转吊具
有效
申请
2022-09-16
申请公布
1970-01-01
授权
2023-01-03
预估到期
2032-09-16
| 申请号 | CN202222456059.4 |
| 申请日 | 2022-09-16 |
| 授权公布号 | CN218202107U |
| 授权公告日 | 2023-01-03 |
| 分类号 | B66F19/00 |
| 分类 | 卷扬;提升;牵引; |
| 申请人名称 | 哈尔滨博实自动化股份有限公司 |
| 申请人地址 | 黑龙江省哈尔滨市开发区迎宾路集中区东湖街9号 |
专利法律状态
2023-01-03
授权
状态信息
授权
摘要
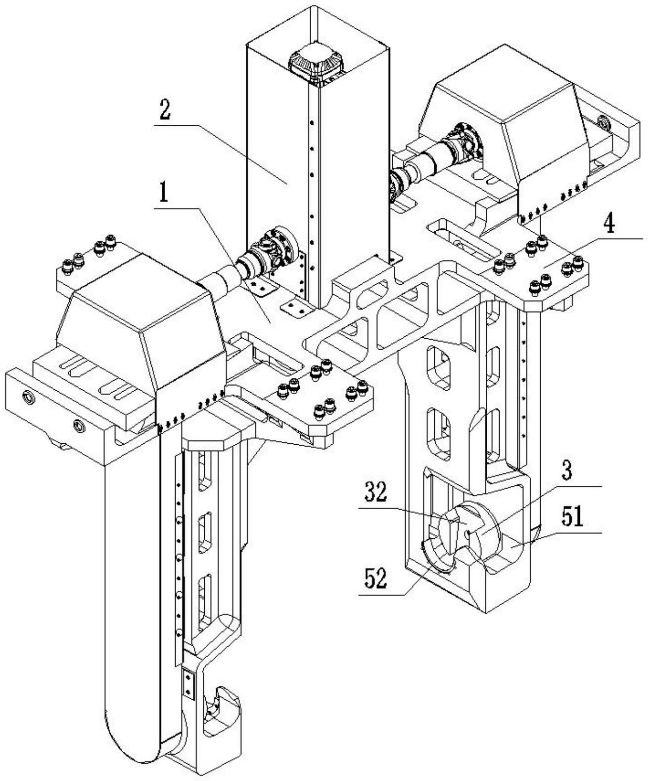
一种电石锅翻转吊具,属于起重设备技术领域。本实用新型包括吊梁机构、传动机构、翻转机构,吊梁机构左右两侧安装有翻转机构,吊梁机构上安装有传动机构,传动机构与翻转机构连接。本实用新型研发目的是为了提供了一种电石锅翻转吊具,解决降低翻锅脱模方式的人工劳动强度,简化出炉程序,提高工作效率及安全性的问题,本实用新型代替传统冷电石拔坨脱模方式,采用翻锅脱模,可直接翻锅装车,或者翻锅将冷电石送至颚式破碎机喂料口,提高了电石转运工作效率,电石从电石锅锅体脱离的整个过程无需人工辅助,降低人工劳动强度,提高作业安全性。


