授权公布号:CN214551767U
一种食用油脂过滤设备
有效
申请
2021-03-26
申请公布
1970-01-01
授权
2021-11-02
预估到期
2031-03-26
| 申请号 | CN202120614546.1 |
| 申请日 | 2021-03-26 |
| 授权公布号 | CN214551767U |
| 授权公告日 | 2021-11-02 |
| 分类号 | B01D36/02;C11B3/00 |
| 分类 | 一般的物理或化学的方法或装置; |
| 申请人名称 | 河南永乐粮油机械有限公司 |
| 申请人地址 | 河南省新乡市修武县周庄镇周庄村 |
专利法律状态
2021-11-02
授权
状态信息
授权
摘要
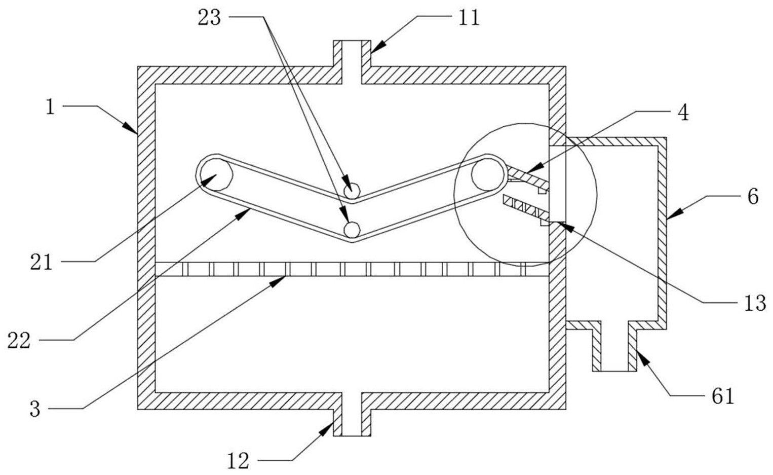
本实用新型公开了一种食用油脂过滤设备,包括过滤箱,过滤箱顶部固定连接有原料进管,所述过滤箱底部固定连接有出料管,过滤箱内设置有多级过滤机构以及杂质清理机构,多级过滤机构包括过滤传送机构和滤板,过滤传送机构位于滤板上方,过滤传送机构与杂质清理机构相贴合,且所述过滤传送机构包括过滤带以及用于带动过滤带进行转动的两个传动轮,过滤传动机构呈漏斗状,杂质清理机构贴合在过滤带表面,杂质清理机构包括第一刮板、第二刮板,第一刮板固定连接在过滤箱内壁上,第二刮板固定连接在第一刮板的底面上,第二刮板左端固定连接有毛刷,本实用新型可以解决现有技术中过滤时杂质清理不便以及过滤效率低的问题。


