授权公布号:CN212560162U
一种油料脱酸设备
失效
申请
2020-05-22
申请公布
1970-01-01
授权
2021-02-19
预估到期
2030-05-22
| 申请号 | CN202020875808.5 |
| 申请日 | 2020-05-22 |
| 授权公布号 | CN212560162U |
| 授权公告日 | 2021-02-19 |
| 分类号 | C11B3/14 |
| 分类 | 动物或植物油、脂、脂肪物质或蜡;由此制取的脂肪酸;洗涤剂;蜡烛; |
| 申请人名称 | 河南永乐粮油机械有限公司 |
| 申请人地址 | 河南省焦作市修武县周庄镇周庄村 |
专利法律状态
2023-06-02
专利权的终止
状态信息
未缴年费专利权终止;IPC(主分类):C11B3/14;申请日:20200522;授权公告日:20210219
2021-02-19
授权
状态信息
授权
摘要
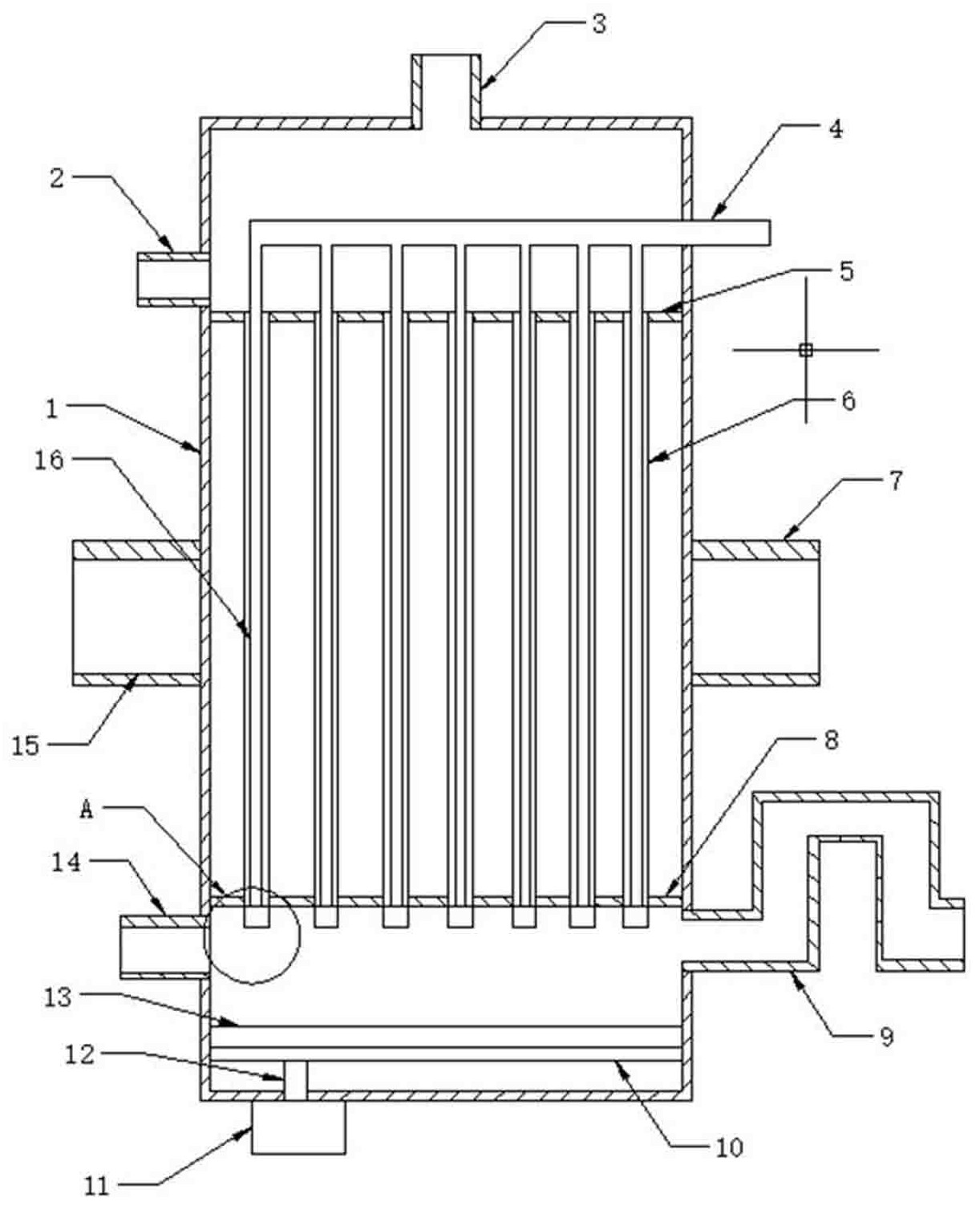
本实用新型公开了一种油料脱酸设备,包括蒸发器,所述蒸发器内固定连接有蒸发装置,所述蒸发装置包括上固定板、下固定板、进气管、若干蒸发管以及若干分流管,所述上固定板、下固定板固定连接在蒸发器内部,所述蒸发管固定连接在上固定板和下固定板之间,所述分流管与进气管相连通,所述进气管一侧穿出蒸发器,所述分流管伸入到蒸发管内,所述分流管上开设有若干气孔,所述蒸发管底部开设有若干出液孔,所述蒸发器底部固定连接有液压缸,所述蒸发器内部底侧设有液压机构,所述液压机构包括推杆、推板,所述推杆顶部固定连接在推板上,所述推杆底部穿过蒸发器固定连接在液压缸的动力输出端上。


