授权公布号:CN217167696U
一种用于PC板钻孔装置的防尘防震装置
有效
申请
2022-04-14
申请公布
1970-01-01
授权
2022-08-12
预估到期
2032-04-14
| 申请号 | CN202220855176.5 |
| 申请日 | 2022-04-14 |
| 授权公布号 | CN217167696U |
| 授权公告日 | 2022-08-12 |
| 分类号 | B23Q11/00;B23B47/34;B23B41/00 |
| 分类 | 机床;不包含在其他类目中的金属加工; |
| 申请人名称 | 浙江展邦电子科技有限公司 |
| 申请人地址 | 浙江省温州市瓯海区郭溪街道下屿工业区富泉路75号 |
专利法律状态
2022-08-12
授权
状态信息
授权
摘要
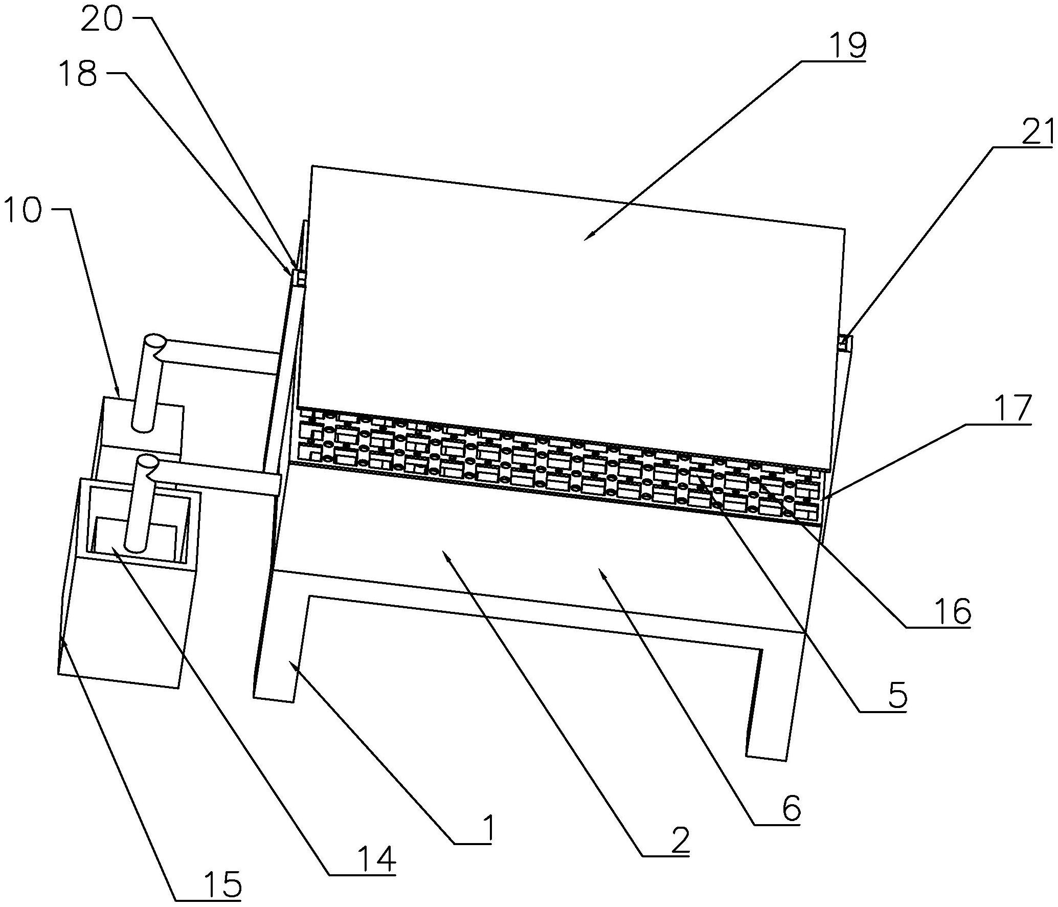
一种用于PC板钻孔装置的防尘防震装置,包括设备基座、支撑基座、吹气装置和吸尘装置,所述支撑基座内部镂空,所述支撑基座包括支撑板和支撑架,所述支撑板固定连接于支撑架上表面,所述支撑板呈网格状,所述吹气装置包括第一滑动基座、第一驱动电机、吹气元件和第一气压泵,所述吸尘装置包括滑动连接于支撑基座底部的第二滑动基座、用于驱动第二滑动基座运动的第二驱动电机、连接于第二滑动基座的吸气元件、用于为吸气元件提供风力的第二气压泵和连接于第二气压泵的粉尘收集箱,所述第一滑动基座和第二滑动基座保持同向运动,所述吹气元件和吸气元件的吹气口和吸气口均竖直朝上。


