授权公布号:CN214003332U
一种线路板出料装置
失效
申请
2020-10-16
申请公布
1970-01-01
授权
2021-08-20
预估到期
2030-10-16
| 申请号 | CN202022320392.3 |
| 申请日 | 2020-10-16 |
| 授权公布号 | CN214003332U |
| 授权公告日 | 2021-08-20 |
| 分类号 | B65G49/06 |
| 分类 | 输送;包装;贮存;搬运薄的或细丝状材料; |
| 申请人名称 | 浙江展邦电子科技有限公司 |
| 申请人地址 | 浙江省温州市瓯海区郭溪街道下屿工业区富泉路75号 |
专利法律状态
2023-10-27
专利权的终止
状态信息
未缴年费专利权终止;IPC(主分类):B65G 49/06;专利号:ZL2020223203923;申请日:20201016;授权公告日:20210820;终止日期:
2021-08-20
授权
状态信息
授权
摘要
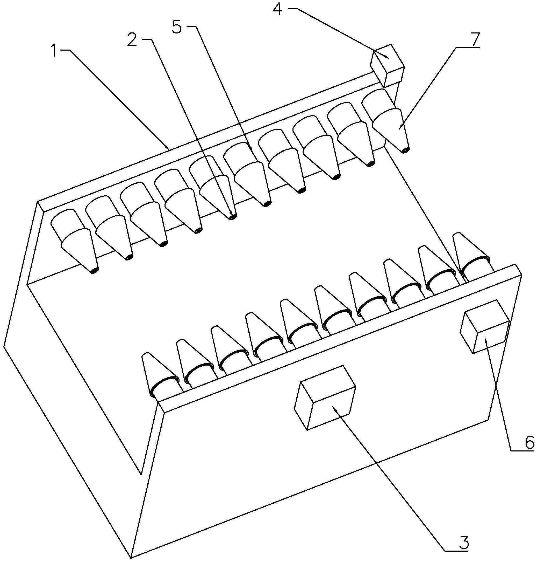
一种线路板出料装置,包括设备基座、连接于设备基座的若干个滑动元件和用于驱动滑动元件旋转的驱动电机,所述滑动元件均匀分布于设备基座的左右两侧,左右两侧的滑动元件之间的距离小于线路板的宽度,所述滑动元件保持同向旋转运动,所述滑动元件呈锥形头形状。


