授权公布号:CN208242664U
一种调节强度的熏香盒
有效
申请
2018-05-21
申请公布
1970-01-01
授权
2018-12-18
预估到期
2028-05-21
| 申请号 | CN201820750175.8 |
| 申请日 | 2018-05-21 |
| 授权公布号 | CN208242664U |
| 授权公告日 | 2018-12-18 |
| 分类号 | A01M1/20;A01M13/00;A01M29/12;A61M21/02;A61L9/03 |
| 分类 | 农业;林业;畜牧业;狩猎;诱捕;捕鱼; |
| 申请人名称 | 福建百轩香业有限公司 |
| 申请人地址 | 福建省泉州市永春县达埔镇汉口村 |
专利法律状态
2018-12-18
授权
状态信息
授权
摘要
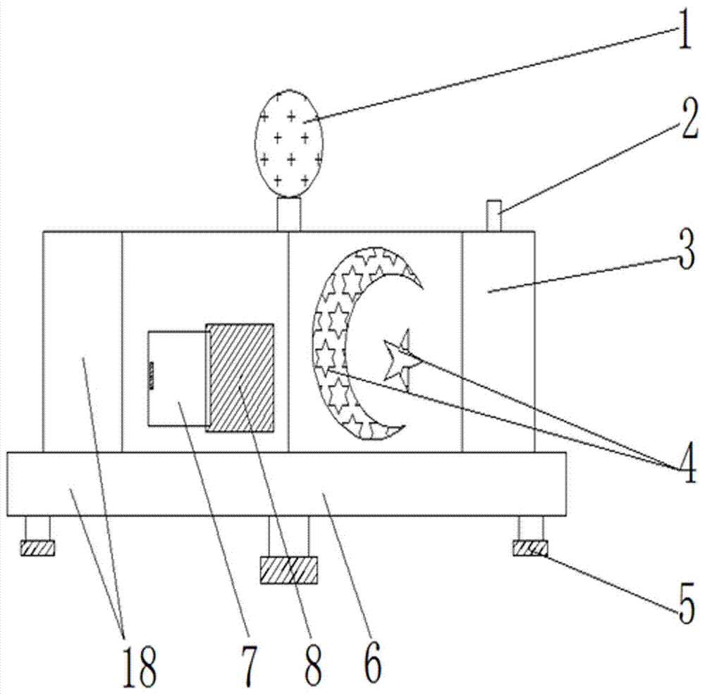
本实用新型公开了一种调节强度的熏香盒,包括熏香盒盖、装饰图案、熏香盒底座和熏香盒,所述熏香盒盖前侧面上设置有拉门,且拉门右侧与进风口连接在一起,所述熏香盒底座通过底座凹槽与熏香盒盖的熏香盒盖凸块连接在一起,所述熏香盒底座由六个支座设置在水平面上,所述熏香盒盖上部设置有出风口,且出风口与设置在挡板的下侧,所述出风口上面固定有连接杆,且连接杆与出风口控制杆连接在一起,同时风口控制杆设置在滑轨的内部。该调节强度的熏香盒,结构设置合理,通过出风口控制杆在滑轨内部移动,增加或者减少四块出风口表面积,从而实现对出风大小的控制,能够更好的保证熏香盒的安全高效工作,促进熏香盒行业的发展。


