授权公布号:CN219204041U
一种母线槽垂直弯通
有效
申请
2022-12-28
申请公布
1970-01-01
授权
2023-06-16
预估到期
2032-12-28
| 申请号 | CN202223525451.6 |
| 申请日 | 2022-12-28 |
| 授权公布号 | CN219204041U |
| 授权公告日 | 2023-06-16 |
| 分类号 | H02G5/06;H02G5/00 |
| 分类 | 发电、变电或配电; |
| 申请人名称 | 威腾电气集团股份有限公司 |
| 申请人地址 | 江苏省镇江市扬中市新坝科技园南自路1号 |
专利法律状态
2023-06-16
授权
状态信息
授权
摘要
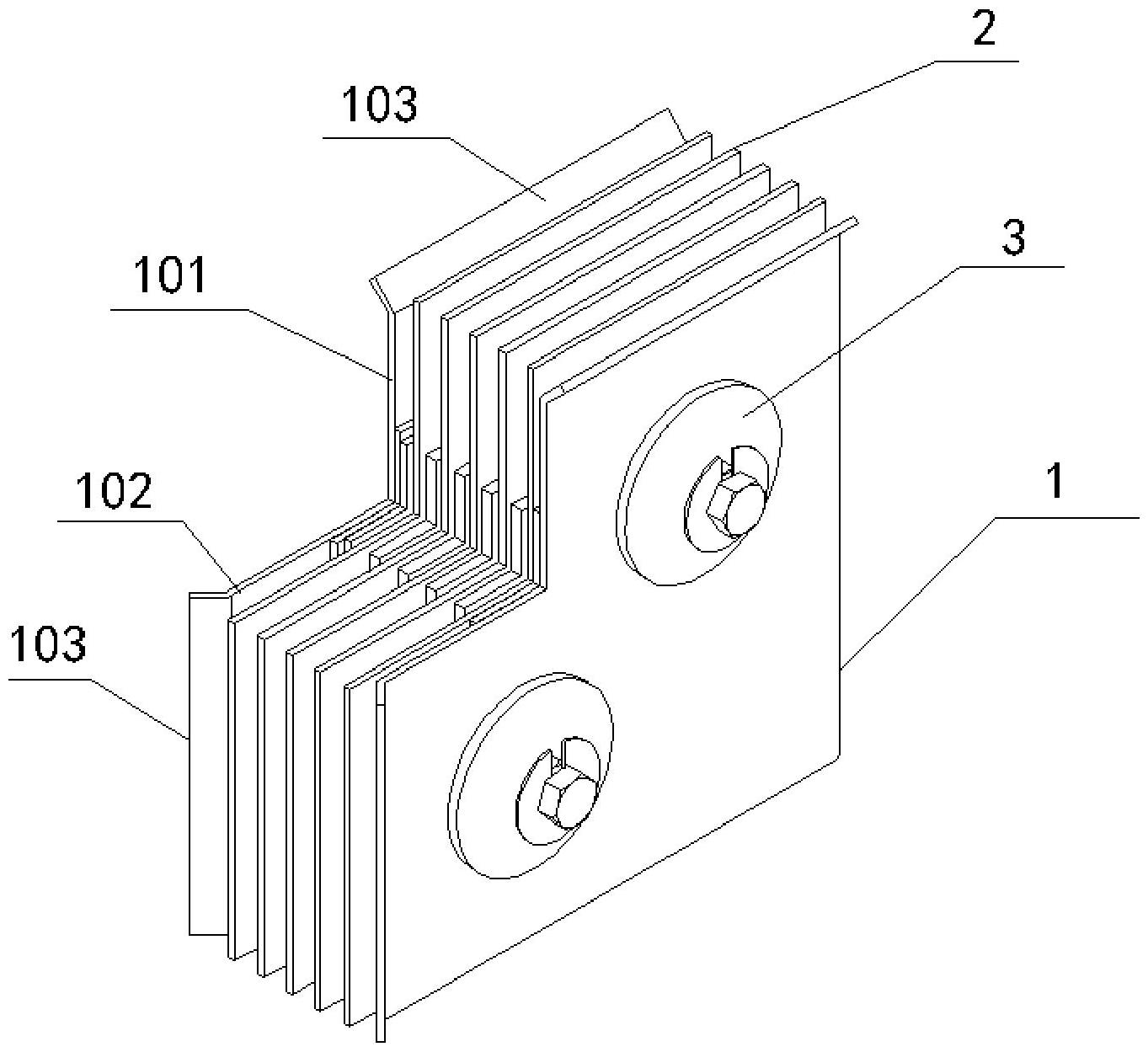
本申请公开一种母线槽垂直弯通,包括两侧板、若干绝缘板、若干导通件及锁固组件,两所述侧板对应间隔设置,所述侧板包括沿竖直方向的任一方向凸设的垂直部、和沿水平方向的任一方向凸设的水平部,各所述绝缘板的形状与所述侧板相适配,且各所述绝缘板依次间隔设置于两所述侧板之间,进而限定形成有在竖直方向的垂直安装位,以及在水平方向的水平安装位,所述绝缘板的一面设置有所述导通件,和/或,所述绝缘板的两面均设置有所述导通件,所述锁固组件贯穿所述侧板和所述绝缘板,进而固定两所述侧板和各所述绝缘板的相对位置。本申请可直接插入母线槽然后锁固,无需焊接,操作方便简单。


