授权公布号:CN216499017U
一种显影中合剂处理装置
有效
申请
2021-11-26
申请公布
1970-01-01
授权
2022-05-13
预估到期
2031-11-26
| 申请号 | CN202122943700.2 |
| 申请日 | 2021-11-26 |
| 授权公布号 | CN216499017U |
| 授权公告日 | 2022-05-13 |
| 分类号 | B01F33/82 |
| 分类 | 一般的物理或化学的方法或装置; |
| 申请人名称 | 四川普瑞森电子有限公司 |
| 申请人地址 | 四川省遂宁市创新工业园区明星大道323号 |
专利法律状态
2022-05-13
授权
状态信息
授权
摘要
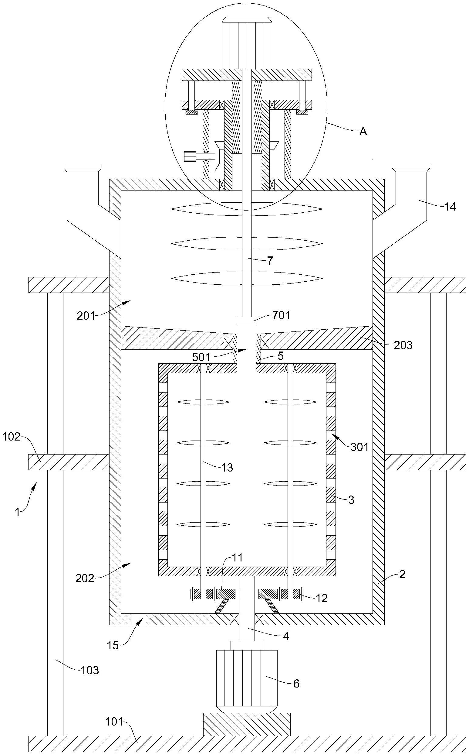
本实用新型提供了一种显影中合剂处理装置,包括支架,支架上固设有外筒,外筒的中部设有隔板,隔板将外筒分隔为上筒和下筒,下筒的内部设有可转动的内筒,内筒的侧壁设有若干过液孔,内筒的顶部与上筒连通,内筒的底部中心连接有第一电机,以驱动内筒转动,第一电机安装于支架上;上筒的内部设有第一搅拌轴,第一搅拌轴上沿轴向设有若干第一搅拌叶,外筒的顶部设有安装座,安装座上安装有第二电机,第二电机的输出轴与第一搅拌轴连接,第一搅拌轴的底端设有可与下液孔内壁配合的堵块,外筒的顶部设有用于驱动安装座升降的驱动机构。本实用新型能够提高中和剂各成分的混合效果,保证中和剂的质量。


