授权公布号:CN216503958U
一种钻孔后披锋连线打磨装置
有效
申请
2021-11-26
申请公布
1970-01-01
授权
2022-05-13
预估到期
2031-11-26
| 申请号 | CN202122944776.7 |
| 申请日 | 2021-11-26 |
| 授权公布号 | CN216503958U |
| 授权公告日 | 2022-05-13 |
| 分类号 | B24B9/00;B24B45/00;B24B41/00;B24B47/22;H05K3/00 |
| 分类 | 磨削;抛光; |
| 申请人名称 | 四川普瑞森电子有限公司 |
| 申请人地址 | 四川省遂宁市创新工业园区明星大道323号 |
专利法律状态
2022-05-13
授权
状态信息
授权
摘要
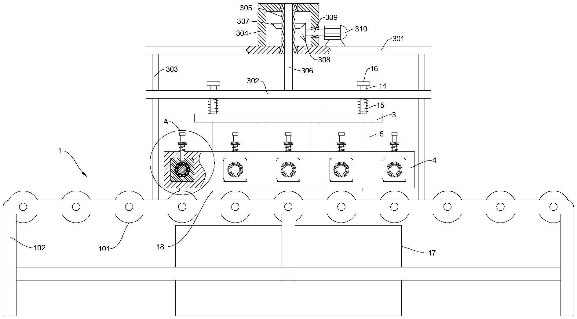
本实用新型提供了一种钻孔后披锋连线打磨装置,包括传输机构,传输机构上方设有横支板,横支板的顶部设有驱动机构;横支板的底部两侧连接有侧支板,两个侧支板之间并列设有若干打磨辊,打磨辊上套设有周向固定的打磨套,打磨辊的一端固定连接有第一挡板,打磨辊的另一端可拆卸地连接有第二挡板,靠近第一挡板的侧支板上转动连接有第一转轴,靠近第二挡板的侧支板上设有矩形孔,矩形孔内设有相配合的矩形座,该侧支板上设有用于固定矩形座的固定部件,矩形座上转动连接有第二转轴,第一转轴和第二转轴靠近打磨辊端部的一端均呈多边形结构,打磨辊的端部中心设有与多边形结构配合的盲孔。本实用新型便于打磨辊的更换,便于适应不同厚度的电路板。


