授权公布号:CN214960370U
一种精细线路多层电路板的烘板装置
有效
申请
2021-07-13
申请公布
1970-01-01
授权
2021-11-30
预估到期
2031-07-13
| 申请号 | CN202121590437.7 |
| 申请日 | 2021-07-13 |
| 授权公布号 | CN214960370U |
| 授权公告日 | 2021-11-30 |
| 分类号 | H05K3/46 |
| 分类 | 其他类目不包含的电技术; |
| 申请人名称 | 四川普瑞森电子有限公司 |
| 申请人地址 | 四川省遂宁市创新工业园区明星大道323号 |
专利法律状态
2021-11-30
授权
状态信息
授权
摘要
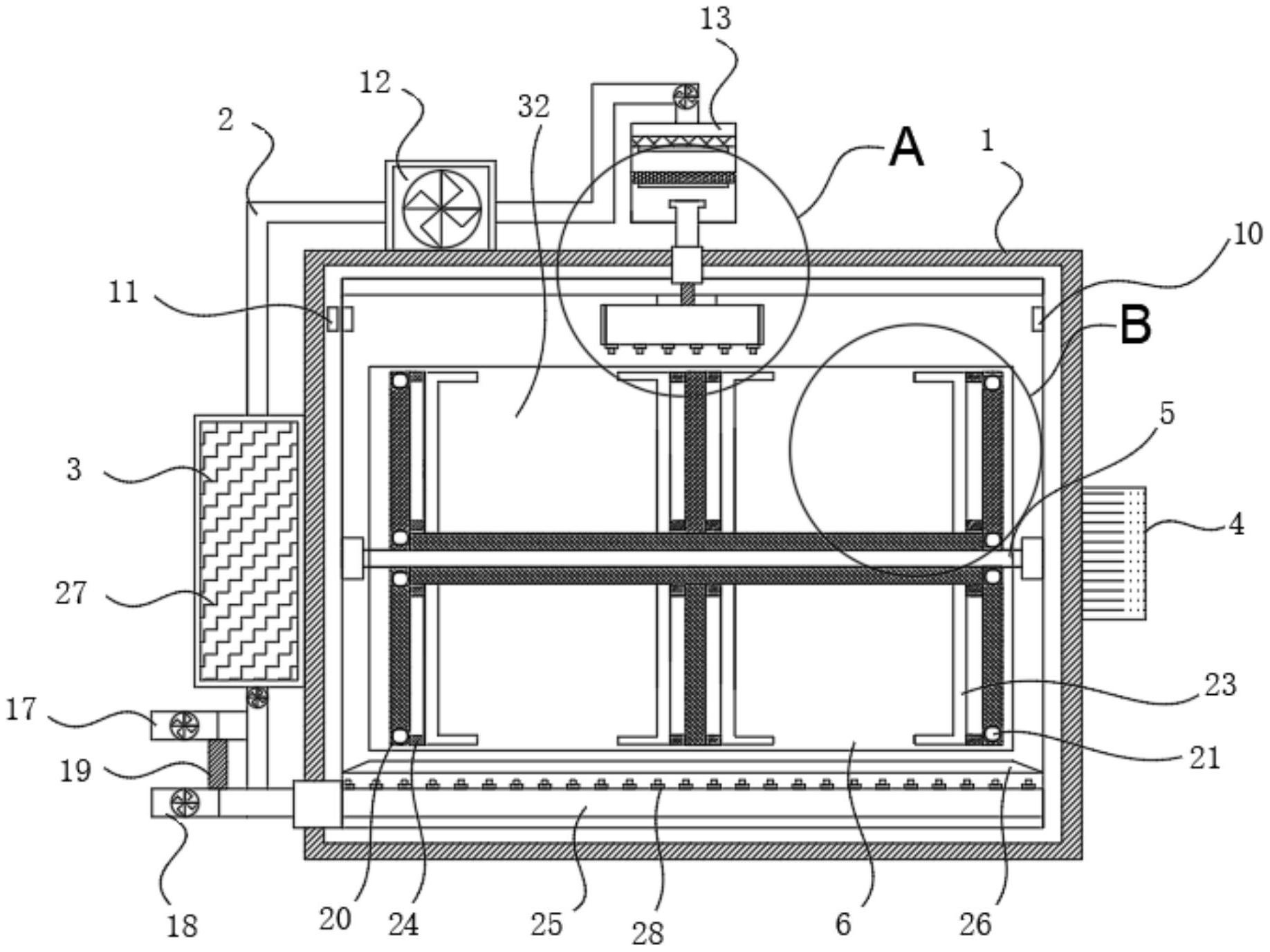
本实用新型提供了一种精细线路多层电路板的烘板装置,包括壳体、送气管和加热组件,加热组件设置在壳体一侧,送气管与加热组件连通并延伸至壳体内部,壳体另一侧设置有电机,电机的输出端连接有一转轴,转轴贯穿壳体的侧壁并延伸至壳体内部,转轴于壳体内部的一端外周上设置有多个旋转板;壳体内顶部滑动连接有一风箱,风箱的顶部连通有一伸缩软管,伸缩软管还与送气管连通;风箱的侧壁设置有磁环,壳体的内侧壁对应磁环设置有电磁继电器,电磁继电器与单片机电连接。本实用通过旋转板以及可移动的风箱可调整电路板的加热面,以使得在使用热气流烘板时,加热更加均匀。


