授权公布号:CN214544923U
一种高导热的陶瓷基复合印制电路板
有效
申请
2021-04-27
申请公布
1970-01-01
授权
2021-10-29
预估到期
2031-04-27
| 申请号 | CN202120892391.8 |
| 申请日 | 2021-04-27 |
| 授权公布号 | CN214544923U |
| 授权公告日 | 2021-10-29 |
| 分类号 | H05K1/02 |
| 分类 | 其他类目不包含的电技术; |
| 申请人名称 | 四川普瑞森电子有限公司 |
| 申请人地址 | 四川省遂宁市创新工业园区明星大道323号 |
专利法律状态
2021-10-29
授权
状态信息
授权
摘要
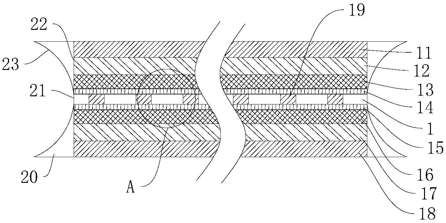
本实用新型涉及电路板技术领域,提供了一种高导热的陶瓷基复合印制电路板,包括电路基板,电路基板包括上陶瓷基体和下陶瓷基体;上陶瓷基体的上表面通过第一高导热硅胶片连接有第一阻燃覆铜箔酚醛纸;上陶瓷基体的下表面粘贴有第一导热层;下陶瓷基体的下表面通过第二高导热硅胶片连接有第二阻燃覆铜箔酚醛纸;下陶瓷基体的上表面粘贴有第二导热层;第一导热层和第二导热层之间设有导热连接件;本实用新型主要适用于双面PCB板,提高其散热性能。


