授权公布号:CN212097020U
一种PVC电气胶带生产用密闭式炼胶机
有效
申请
2020-04-07
申请公布
1970-01-01
授权
2020-12-08
预估到期
2030-04-07
| 申请号 | CN202020493533.9 |
| 申请日 | 2020-04-07 |
| 授权公布号 | CN212097020U |
| 授权公告日 | 2020-12-08 |
| 分类号 | B29B7/22 |
| 分类 | 塑料的加工;一般处于塑性状态物质的加工; |
| 申请人名称 | 舒氏集团有限公司 |
| 申请人地址 | 湖北省孝感市孝南区南大工业开发区 |
专利法律状态
2020-12-08
授权
状态信息
授权
摘要
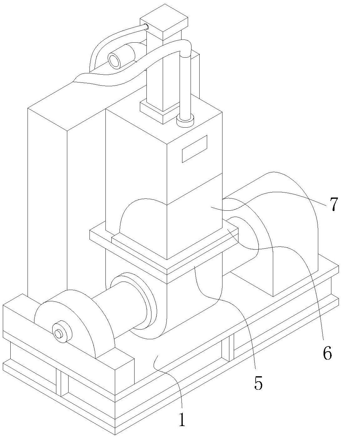
本实用新型公开了一种PVC电气胶带生产用密闭式炼胶机,包括机体,所述机体的内部活动连接有安装板,所述安装板的顶部活动连接有导料壳,所述导料壳的底部固定连接有安装架,所述安装架后侧的两侧均固定连接有辅助机构,所述辅助机构的底部与安装板的顶部固定连接,所述安装板的内部活动连接有传动机构。本实用新型通过设置机体、辅助机构、定位机构、传动机构、安装板、安装架、导料壳、弧形板、拉块、密封垫、通口、活动槽、槽体、缓冲垫、滑槽和滑块的配合使用,解决了现有的PVC电气胶带生产用密闭式炼胶机不方便使用者对导料壳进行拆装,在进行拆装时耗时耗力,不便于使用者的操作,不便于使用者使用的问题。适用于PVC电气胶带的生产。


