授权公布号:CN216220961U
一种蚊帐杆边角立柱内塞、蚊帐杆安装结构及公寓床
有效
申请
2021-09-15
申请公布
1970-01-01
授权
2022-04-08
预估到期
2031-09-15
| 申请号 | CN202122266986.5 |
| 申请日 | 2021-09-15 |
| 授权公布号 | CN216220961U |
| 授权公告日 | 2022-04-08 |
| 分类号 | A47C29/00;A47C21/00;A47C17/86 |
| 分类 | 家具;家庭用的物品或设备;咖啡磨;香料磨;一般吸尘器; |
| 申请人名称 | 星原实业(洛阳)有限公司 |
| 申请人地址 | 河南省洛阳市伊滨区庞村镇掘丁路12号 |
专利法律状态
2022-04-08
授权
状态信息
授权
摘要
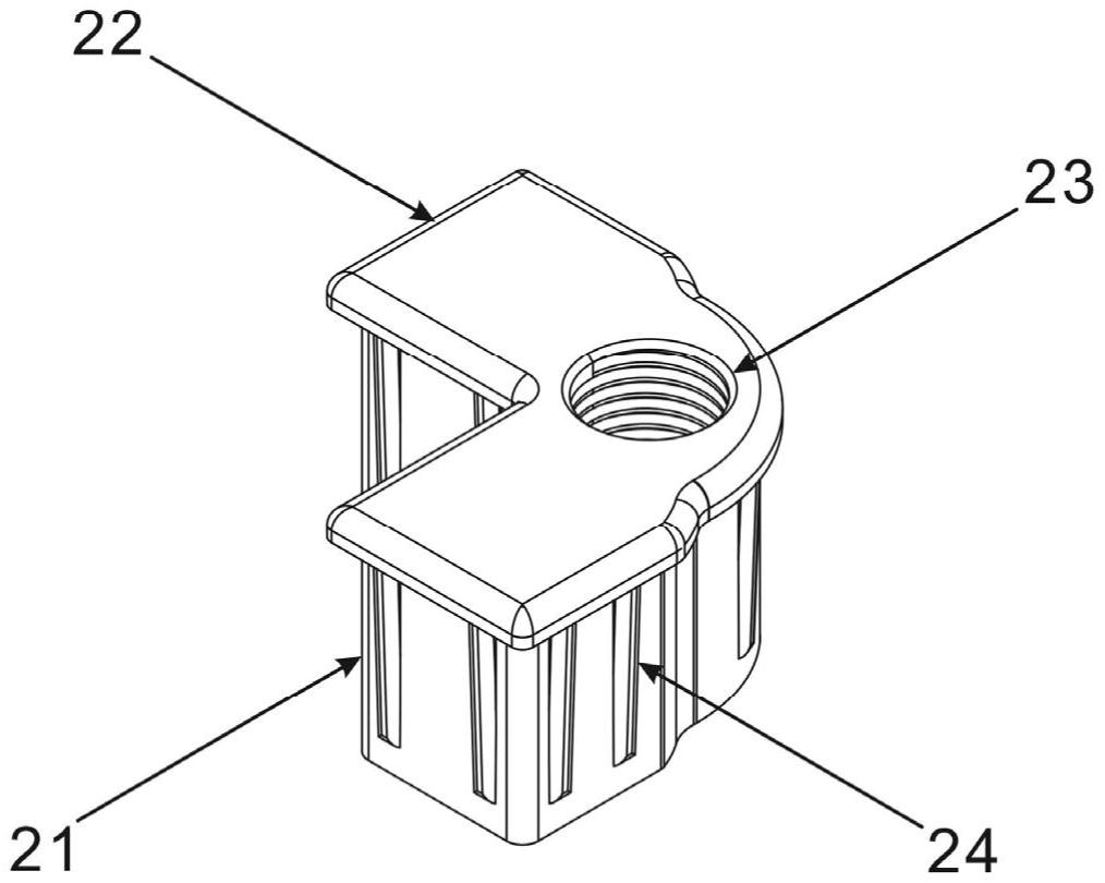
本实用新型提供了一种蚊帐杆边角立柱内塞、蚊帐杆安装结构及公寓床,涉及公寓床技术领域,所述蚊帐杆边角立柱内塞包括边角内塞本体,边角内塞本体的底部能插设至边角立柱上;边角内塞本体的顶部设置有螺纹连接部;所述蚊帐杆安装结构包括蚊帐杆、边角立柱和所述蚊帐杆边角立柱内塞,边角立柱顶部设置为插接槽,蚊帐杆边角立柱内塞插设在插接槽上;蚊帐杆安装至螺纹连接部上;所述公寓床包括所述蚊帐杆安装结构;本实用新型通过边角立柱内塞能够实现蚊帐杆与边角立柱的安装,不但安装牢固,而且组装便捷,同时配合其边角立柱及边角立柱内塞的边角结构及位置,能够稳固支撑蚊帐,在确保防蚊虫效果的基础上,保证蚊帐内部活动空间,使用方便。


