授权公布号:CN211911092U
双层折叠沙发床
失效
申请
2020-01-16
申请公布
1970-01-01
授权
2020-11-13
预估到期
2030-01-16
| 申请号 | CN202020096623.4 |
| 申请日 | 2020-01-16 |
| 授权公布号 | CN211911092U |
| 授权公告日 | 2020-11-13 |
| 分类号 | A47C19/20 |
| 分类 | 家具;家庭用的物品或设备;咖啡磨;香料磨;一般吸尘器; |
| 申请人名称 | 成都三鑫鼎高家具有限公司 |
| 申请人地址 | 四川省成都市大邑县沙渠镇石泉村二社(沙渠工业园区) |
专利法律状态
2020-11-13
授权
状态信息
授权
摘要
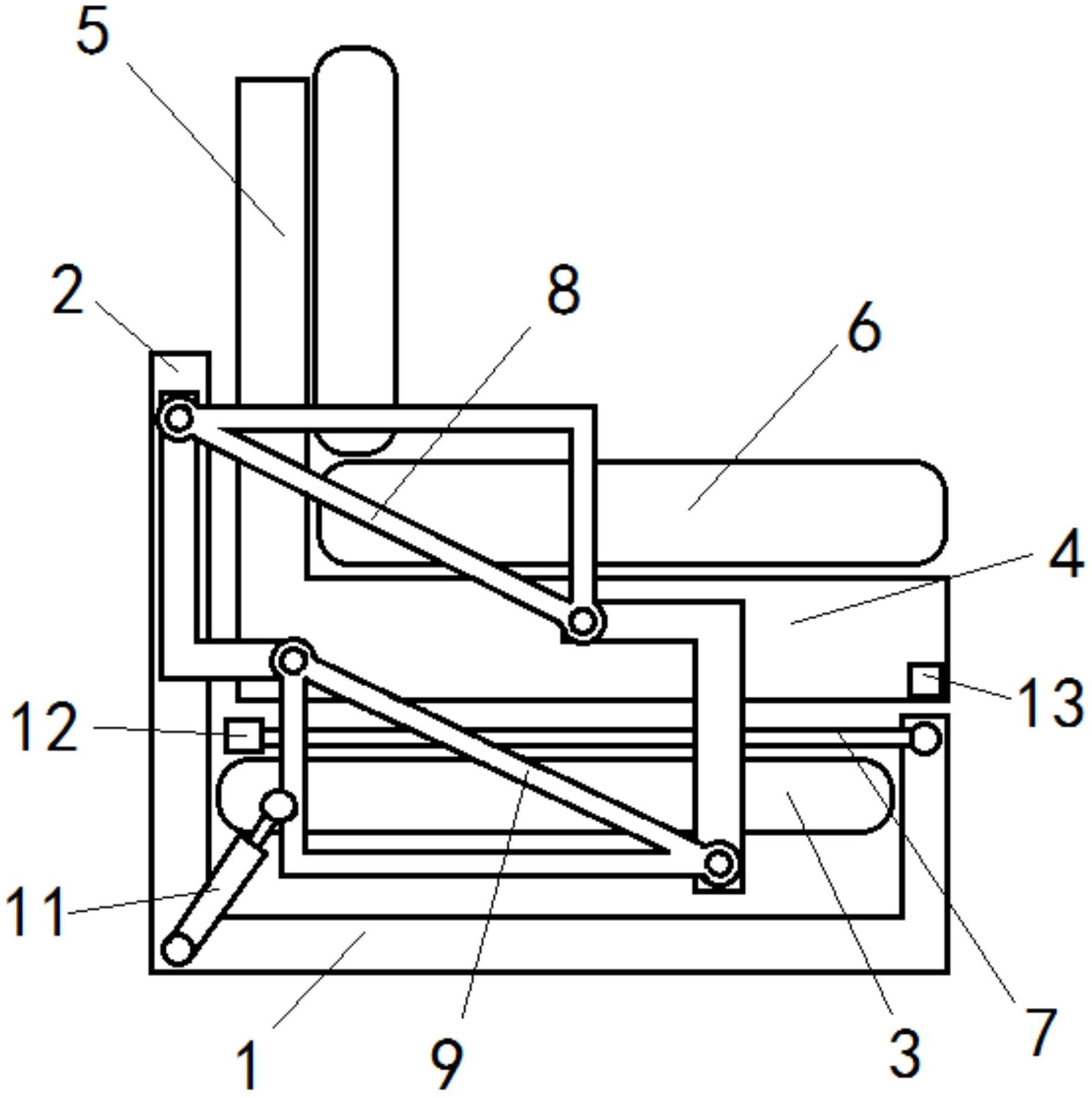
本实用新型涉及家具技术领域,具体涉及一种双层折叠沙发床,其包括:下床体,下床体为顶部设有凹槽的槽体结构,并且任意的一侧设有向上延伸的背板;上床体,上床体嵌套设置在下床体的凹槽内,并且上床体对应背板的一侧设有向上延伸的靠背;翻转机构,翻转机构设置在上床体的两端,并与下床体的两端配合,用于使上床体从下床体中脱离并向上提升;支撑架,支撑架铰接设置在下床体远离背板的一侧,并且支撑架远离下床体的一端设有与上床体配合的锁定机构。本实用新型将传统沙发分成上下俩部分,并通过翻转机构及支撑架使该沙发能在双层床与沙发之间自由转换,从而在有效利用空间的同时,还使得该转换操作变得简单可靠。


