授权公布号:CN218394816U
一种分选机及分选系统
有效
申请
2022-08-30
申请公布
1970-01-01
授权
2023-01-31
预估到期
2032-08-30
| 申请号 | CN202222298209.3 |
| 申请日 | 2022-08-30 |
| 授权公布号 | CN218394816U |
| 授权公告日 | 2023-01-31 |
| 分类号 | B07C5/342;B07C5/36 |
| 分类 | 将固体从固体中分离;分选; |
| 申请人名称 | 合肥泰禾智能科技集团股份有限公司 |
| 申请人地址 | 安徽省合肥市经济技术开发区桃花工业园拓展区玉兰大道66号 |
专利法律状态
2023-01-31
授权
状态信息
授权
摘要
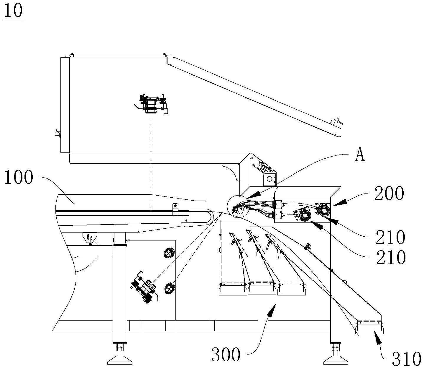
本实用新型提供了一种分选机及分选系统,涉及分选技术领域。该分选机包括用于输送物品的输送主体和分选组件。分选组件包括第一吹嘴组件和至少两个第一气压装置。第一气压装置包括多个可开闭的第一支气路。第一吹嘴组件上设有多个第一吹气口和多个第二吹气口,用于向物品吹气。至少一个第一气压装置的多个第一支气路分别接入多个第一吹气口,用于向第一吹气口输送第一预设气压的气流。至少一个第一气压装置的多个第一支气路分别接入多个第二吹气口,用于向第二吹气口输送第二预设气压的气流。本实用新型提供的分选系统采用了上述的分选机。本实用新型提供的分选机和分选系统可以改善为了实现多级分类造成的占用空间大、成本高以及效率低的问题。


