授权公布号:CN215009371U
一种具有防腐防火功能的电缆桥架
有效
申请
2020-10-21
申请公布
1970-01-01
授权
2021-12-03
预估到期
2030-10-21
| 申请号 | CN202022355884.6 |
| 申请日 | 2020-10-21 |
| 授权公布号 | CN215009371U |
| 授权公告日 | 2021-12-03 |
| 分类号 | H02G3/04 |
| 分类 | 发电、变电或配电; |
| 申请人名称 | 江苏新坝电气集团有限公司 |
| 申请人地址 | 江苏省镇江市扬中市新坝镇长虹路 |
专利法律状态
2021-12-03
授权
状态信息
授权
摘要
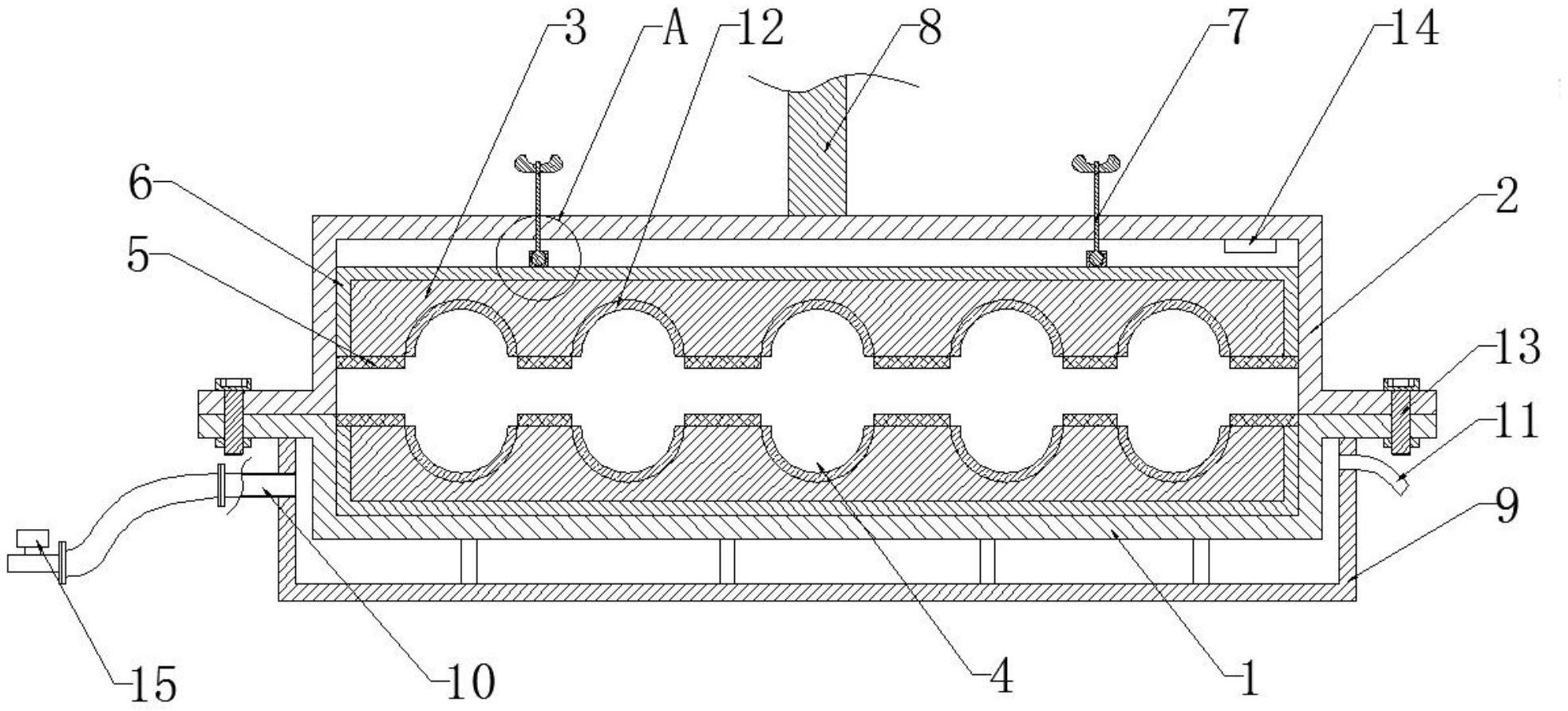
本实用新型公开了一种具有防腐防火功能的电缆桥架,包括桥架本体,桥架本体的顶端设置有盖板,桥架本体及盖板的内部均卡接设置有防火板,两组防火板相互靠近的端面均开设有若干电缆槽并覆盖有橡胶垫片,两组防火板的两侧及相互远离的端面均设置有防腐镀层,盖板的顶端两侧贯穿设置有调节装置,盖板的顶端中部竖直设置有膨胀螺栓。有益效果:通过设置防火板与防腐镀层,并利用电缆槽对电缆线进行夹紧,从而实现防腐防火的目的,而且电缆槽将电缆线相互之间进行隔离,从而降低了火灾发生的几率;通过设置储水槽及电磁控制阀,可以实现利用水对电缆桥架进行降温,从而保证了电缆线的正常工作。


