授权公布号:CN204271581U
一种高温防水母线槽
有效
申请
2014-09-30
申请公布
1970-01-01
授权
2015-04-15
预估到期
2024-09-30
| 申请号 | CN201420570753.1 |
| 申请日 | 2014-09-30 |
| 授权公布号 | CN204271581U |
| 授权公告日 | 2015-04-15 |
| 分类号 | H02G5/06 |
| 分类 | 发电、变电或配电; |
| 申请人名称 | 江苏江城电气有限公司 |
| 申请人地址 | 江苏省镇江市扬中新坝镇港东南路8号 |
专利法律状态
2015-04-15
授权
状态信息
授权
摘要
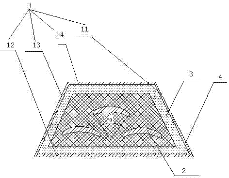
本实用新型公开了一种高温防水母线槽,包括壳体,壳体内设有若干导电载体,壳体为整体构件,壳体内设有密封的空腔,空腔内填充有防水材料,壳体包括上盖板、下盖板,所述上、下盖板之间设有分别设有左、右侧板,所述上盖板、下盖板、左侧板和右侧板通过一体成型形成等腰梯形构件;导电载体呈“品”字形排列,位于上方的所述导电载体设置在所述壳体中心线位置上;所述壳体内填充有绝缘体;所述导电载体为横截面呈弧形,所述导电载体的弧度α为70°。本实用新型通过不同粒径填料的的分布,通过小粒径填补大粒径之间堆积的空穴,提高材料分子之间密实性能,使得导热性能大大提高。


