授权公布号:CN114286538B
具有插接手指的多层线路板及其制作方法
有效
申请
2020-09-28
申请公布
2022-04-05
授权
2024-03-15
预估到期
2040-09-28
| 申请号 | CN202011041525.1 |
| 申请日 | 2020-09-28 |
| 申请公布号 | CN114286538A |
| 申请公布日 | 2022-04-05 |
| 授权公布号 | CN114286538B |
| 授权公告日 | 2024-03-15 |
| 分类号 | H05K3/42;H05K1/11;H05K1/14 |
| 分类 | 其他类目不包含的电技术; |
| 申请人名称 | 鹏鼎控股(深圳)股份有限公司 |
| 申请人地址 | 广东省深圳市宝安区燕罗街道燕川社区松罗路鹏鼎园区厂房A1栋至A3栋 |
专利法律状态
2024-03-15
授权
状态信息
授权
2022-04-05
公布
状态信息
公布
摘要
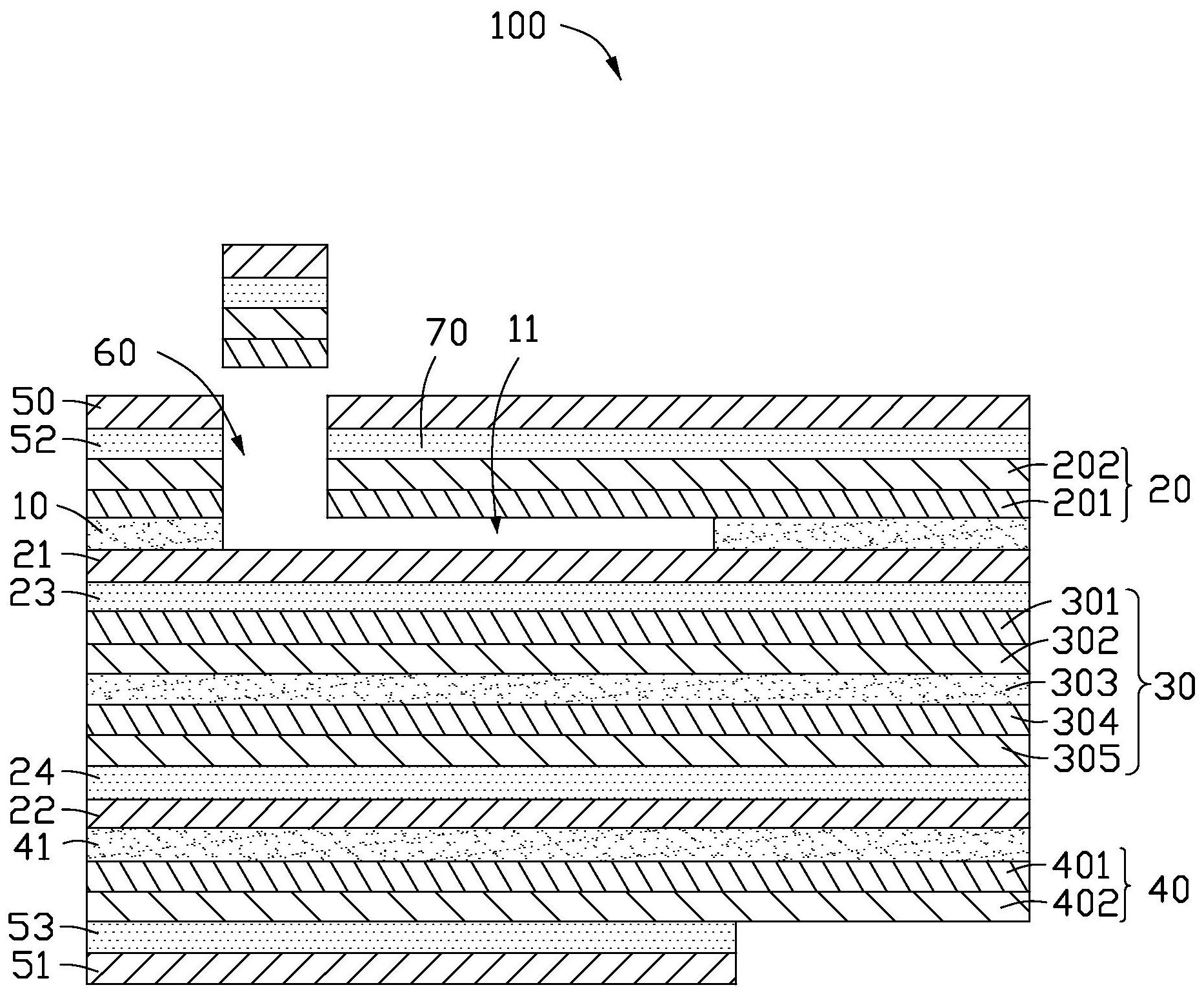
本发明提供一种具有插接手指的多层线路板的制作方法,包括以下步骤:提供第一胶粘层,所述第一胶粘层中设有开槽;提供第一单面覆铜基板,所述第一单面覆铜基板包括第一基层以及设置于所述第一基层表面的第一铜箔层;提供双面覆铜基板;提供第二单面覆铜基板、所述第二单面覆铜基板的其中一表面上设有第五胶粘层;依次层叠所述第一单面覆铜基板、所述第一胶粘层、所述双面覆铜基板、所述第五胶粘层以及所述第二单面覆铜基板,并压合;以及在所述第一铜箔层以及第一基层中形成开口,所述开口与所述开槽连通,从而得到所述多层线路板。本发明的制作方法有利于提高拉带的剥离强度。本发明还提供一种所述制作方法制作的多层线路板。


