授权公布号:CN219068460U
电路板
有效
申请
2022-11-10
申请公布
1970-01-01
授权
2023-05-23
预估到期
2032-11-10
| 申请号 | CN202223007867.9 |
| 申请日 | 2022-11-10 |
| 授权公布号 | CN219068460U |
| 授权公告日 | 2023-05-23 |
| 分类号 | H05K1/02 |
| 分类 | 其他类目不包含的电技术; |
| 申请人名称 | 鹏鼎控股(深圳)股份有限公司 |
| 申请人地址 | 广东省深圳市宝安区新安街道海滨社区海秀路2038号鹏鼎时代大厦A座27层 |
专利法律状态
2023-05-23
授权
状态信息
授权
摘要
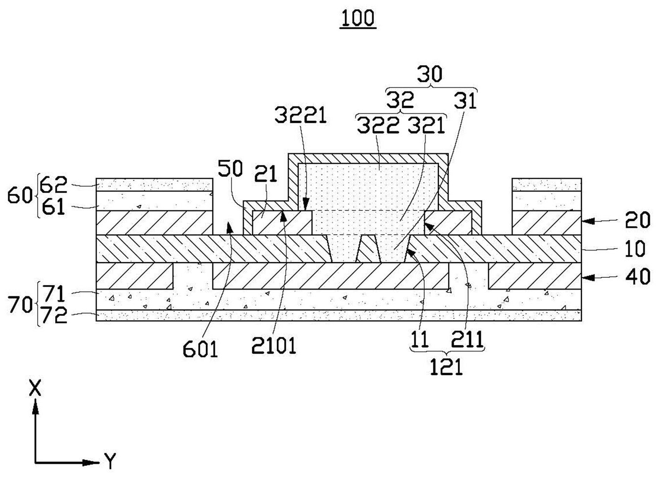
本申请提供一种电路板,包括沿第一方向层叠设置的基材层和第一导电线路层,第一导电线路层包括导电部,其特征在于,电路板上设置有容置腔,容置腔包括互相连通的第一腔部和第二腔部,第一腔部设置于基材层,第二腔部设置于导电部内并沿第一方向贯穿导电部;电路板还包括导电柱,导电柱包括互相连接的第一柱体和第二柱体,第一柱体设置于第一腔部内并至少固定于基材层,第二柱体设置于第二腔部并至少固定于导电部,第二柱体沿第一方向凸设于导电部。本申请提供的电路板利于提高电路板内的连接稳定性。


