授权公布号:CN216581123U
一种益胶泥产品自动包装控制系统
有效
申请
2021-10-21
申请公布
1970-01-01
授权
2022-05-24
预估到期
2031-10-21
| 申请号 | CN202122547248.8 |
| 申请日 | 2021-10-21 |
| 授权公布号 | CN216581123U |
| 授权公告日 | 2022-05-24 |
| 分类号 | B65B1/16;B65B1/28 |
| 分类 | 输送;包装;贮存;搬运薄的或细丝状材料; |
| 申请人名称 | 华鸿(福建)建筑科技有限公司 |
| 申请人地址 | 福建省三明市沙县金古金属加工区I地块 |
专利法律状态
2022-05-24
授权
状态信息
授权
摘要
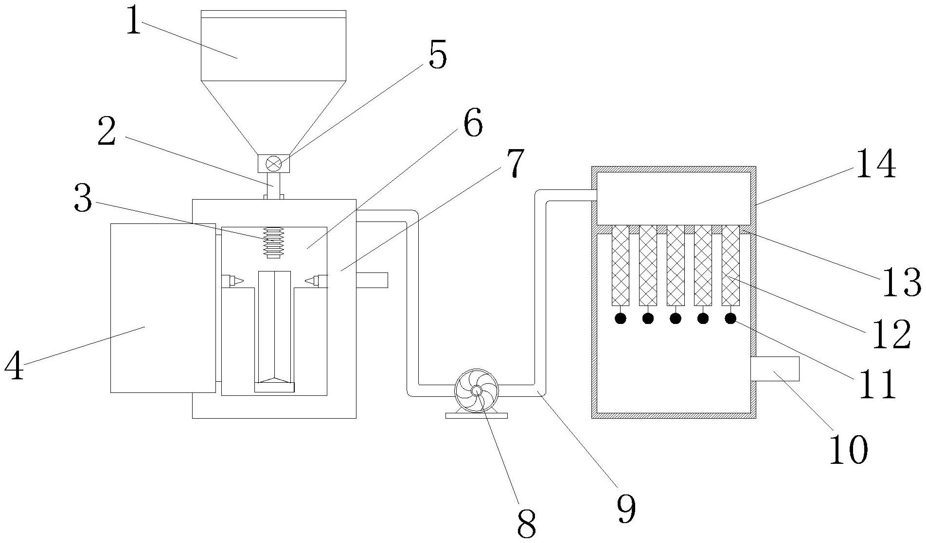
本实用新型提供的一种益胶泥产品自动包装控制系统,包括益胶泥储罐和设置在益胶泥储罐下方的包装机,包装机连接吸尘机构,吸尘机构包括吸尘箱体,吸尘箱体内设置由隔板,隔板将吸尘箱体内部空间分隔成位于上部的进气腔和位于下部的排气腔,进气腔通过管路依次连接鼓风机和包装机,隔板上均布有多个进气孔;采用上述技术方案,将益胶泥包装袋放入包装机内,通过益胶泥储罐对益胶泥包装袋进行灌装,灌装时产生的粉尘通过鼓风机进入进气腔内,并进入过滤袋内,通过过滤袋进行过滤,粉尘被留在过滤袋内表面,净化后的气体通过出风管排出,从而实现对散发的粉尘进行收集,避免粉尘散发到空气中对环境造成污染。


