授权公布号:CN217248247U
一种腻子粉加工装置
有效
申请
2022-01-04
申请公布
1970-01-01
授权
2022-08-23
预估到期
2032-01-04
| 申请号 | CN202220004128.5 |
| 申请日 | 2022-01-04 |
| 授权公布号 | CN217248247U |
| 授权公告日 | 2022-08-23 |
| 分类号 | B01F27/90;B01F27/808;B01F27/054 |
| 分类 | 一般的物理或化学的方法或装置; |
| 申请人名称 | 东莞市欧丽亚环保材料有限公司 |
| 申请人地址 | 广东省东莞市东城区同沙居委会东科路3号 |
专利法律状态
2022-08-23
授权
状态信息
授权
摘要
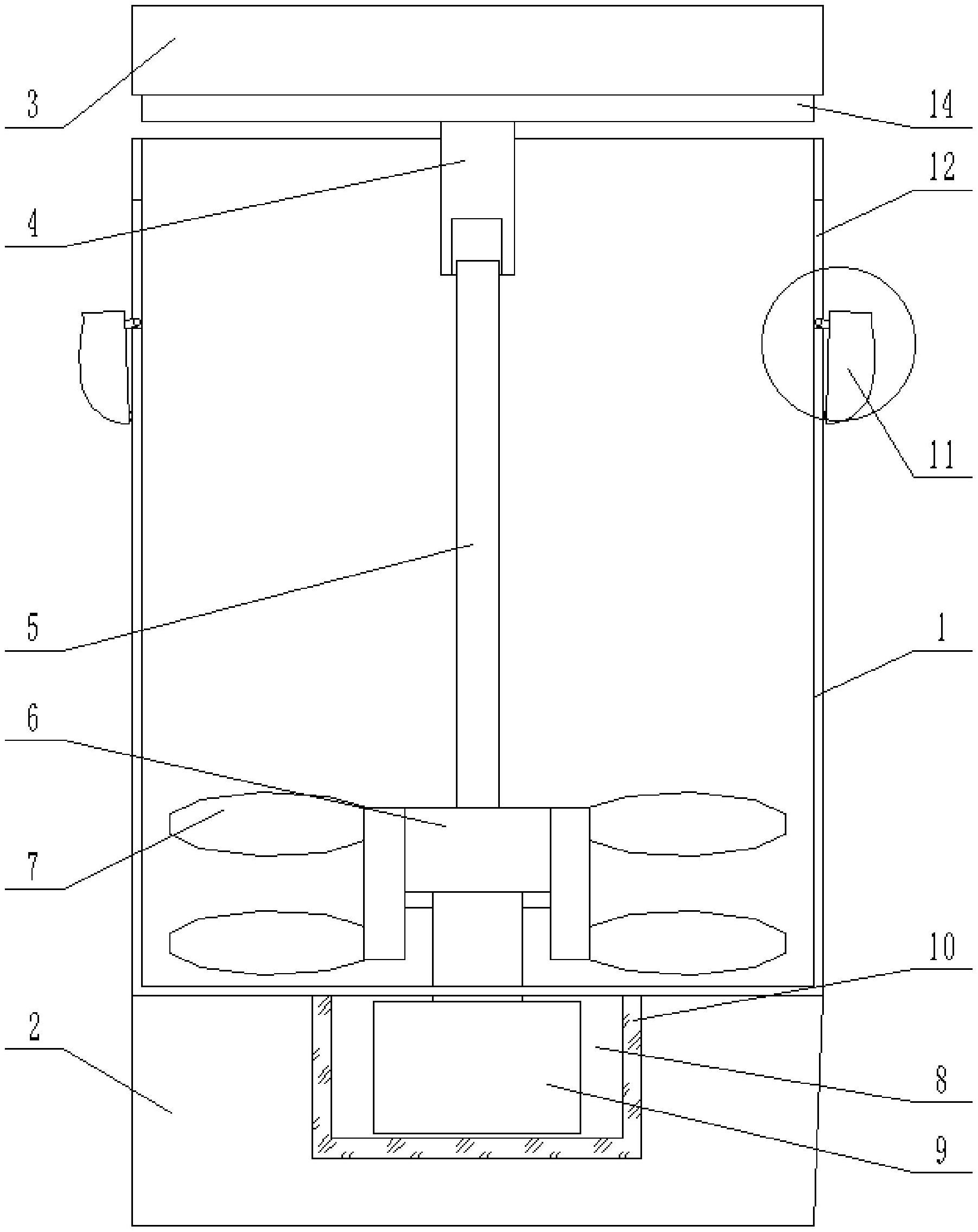
本实用新型公开了一种腻子粉加工装置,包括加工桶,所述加工桶内设置有搅拌机构,所述驱动架上设置有减震驱动机构;所述搅拌机构包括:扣盖、活动套、驱动轴、搅拌架以及搅拌叶片;所述驱动轴设置在所述加工桶内,所述搅拌架设置在所述驱动轴上,所述搅拌叶片设置在所述搅拌架上;所述减震驱动机构包括:电机槽、输出电机以及减震垫;所述电机槽开在所述驱动架上,所述减震垫设置在所述电机槽内,所述输出电机设置在所述减震垫上,所述输出电机的输出端与所述驱动轴固定连接。本实用新型通过打开扣盖加入腻子以及水后,进行搅拌,并且搅拌过程中进行减震降噪,从辅料口内加入定量的辅剂,实现了完善的腻子搅拌装置。


