授权公布号:CN218975223U
一种新型智能化实时监测罐式避雷器
有效
申请
2022-11-15
申请公布
1970-01-01
授权
2023-05-05
预估到期
2032-11-15
| 申请号 | CN202223039018.1 |
| 申请日 | 2022-11-15 |
| 授权公布号 | CN218975223U |
| 授权公告日 | 2023-05-05 |
| 分类号 | H01C7/12;H01C7/112;H01C1/08 |
| 分类 | 基本电气元件; |
| 申请人名称 | 金冠电气股份有限公司 |
| 申请人地址 | 河南省南阳市内乡县工业园区 |
专利法律状态
2023-05-05
授权
状态信息
授权
摘要
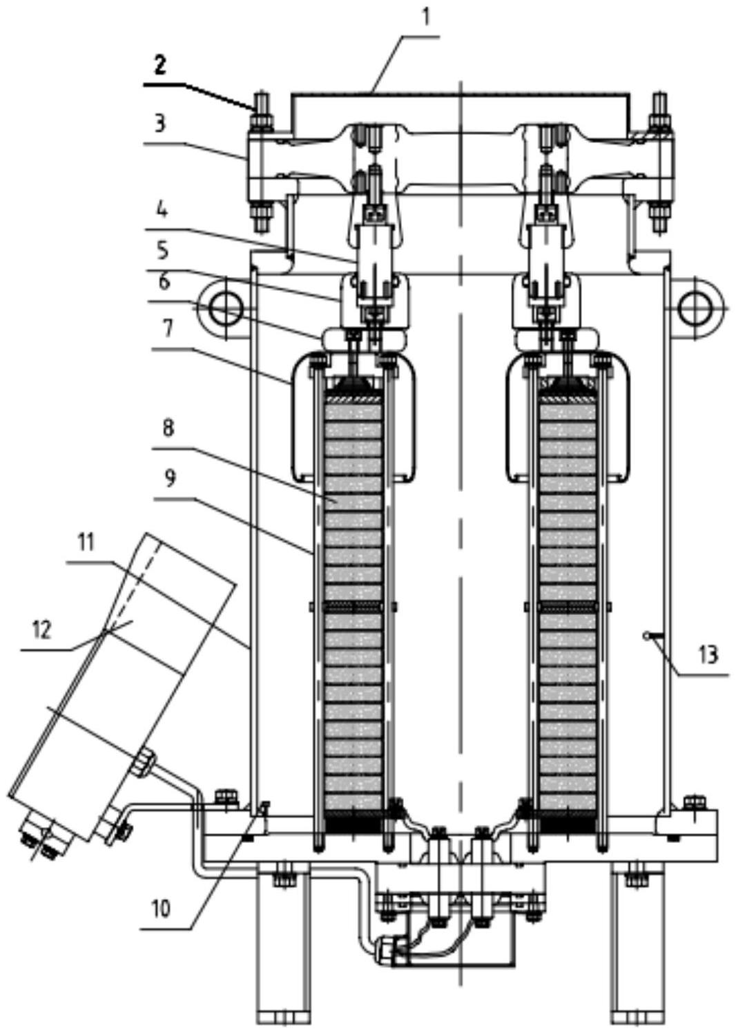
本实用新型涉及避雷器技术领域,且公开了一种新型智能化实时监测罐式避雷器,包括罐式避雷器、监测模块以及六氟化硫回收充气装置,所述罐式避雷器包括保护罩,所述保护罩通过螺栓固定连接有盆式绝缘子,所述盆式绝缘子的底端固定连接有导电棒,所述导电棒的底端固定连接有屏蔽座,所述屏蔽座的底端通过芯组连接块固定连接有电阻片罩;本实用新型通过设有螺栓、盆式绝缘子、温度传感器、罐体,通过温度传感器可以实时监测罐式避雷器罐体内温湿度的含量,从而能够及时对罐式避雷器罐体内的温湿度进行调整,保证其避雷工作的准确性,且制作成本低,在避雷器工作时也可以实时监测到罐体内温湿度含量,安装简单,操作方便。


