授权公布号:CN220652666U
一种光伏配电柜
有效
申请
2023-08-29
申请公布
1970-01-01
授权
2024-03-22
预估到期
2033-08-29
| 申请号 | CN202322330547.5 |
| 申请日 | 2023-08-29 |
| 授权公布号 | CN220652666U |
| 授权公告日 | 2024-03-22 |
| 分类号 | H02B1/30;H02B1/32;H02B1/015;H02B1/20 |
| 分类 | 发电、变电或配电; |
| 申请人名称 | 河南中州电气设备有限公司 |
| 申请人地址 | 河南省郑州市郑东新区平安大道197号永和龙子湖中央广场A座32层3206室 |
专利法律状态
2024-03-22
授权
状态信息
授权
摘要
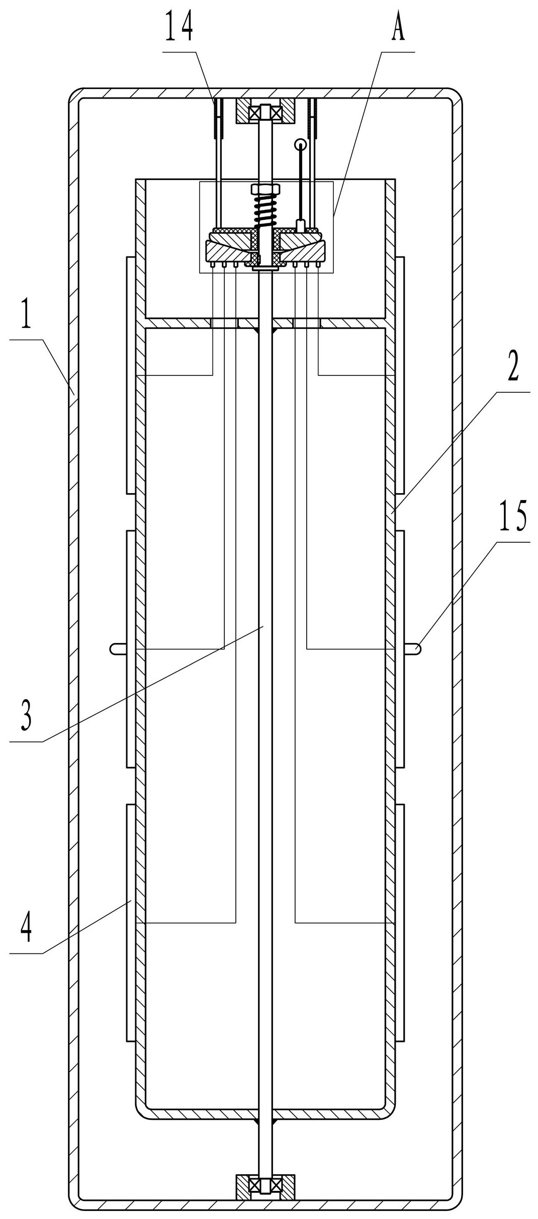
本实用新型涉及一种光伏配电柜,有效的解决了传统安装方式空间利用率低,转动安装方式会牵扯或缠卷电缆的问题;解决的技术方案包括柜体,柜体内安装有一个竖向的转筒,转筒的轴线处固定有一个转轴,转筒的截面为正多边形,转筒的每个侧面的外壁均设有安装位,转轴上穿设有第一配电盘和第二配电盘,第一配电盘经平键与转轴连接,第二配电盘位于第一配电盘上方,且第二配电盘空套在转轴上,第二配电盘上方设有压簧,在压簧的作用下,第二配电盘与第一配电盘时刻保持接触;入柜电缆与第一配电盘连接,每个安装位均与第二配电盘连接;本实用新型通过立体式安装,提高了配电柜内空间的利用率,而且转动时不会牵扯或缠卷电缆。


