授权公布号:CN213831389U
一种防雨式落地充电桩
有效
申请
2020-11-27
申请公布
1970-01-01
授权
2021-07-30
预估到期
2030-11-27
| 申请号 | CN202022793132.8 |
| 申请日 | 2020-11-27 |
| 授权公布号 | CN213831389U |
| 授权公告日 | 2021-07-30 |
| 分类号 | B60L53/31;B60L53/16 |
| 分类 | 一般车辆; |
| 申请人名称 | 安徽佑赛科技股份有限公司 |
| 申请人地址 | 安徽省芜湖市鸠江区九华北路118号 |
专利法律状态
2021-07-30
授权
状态信息
授权
摘要
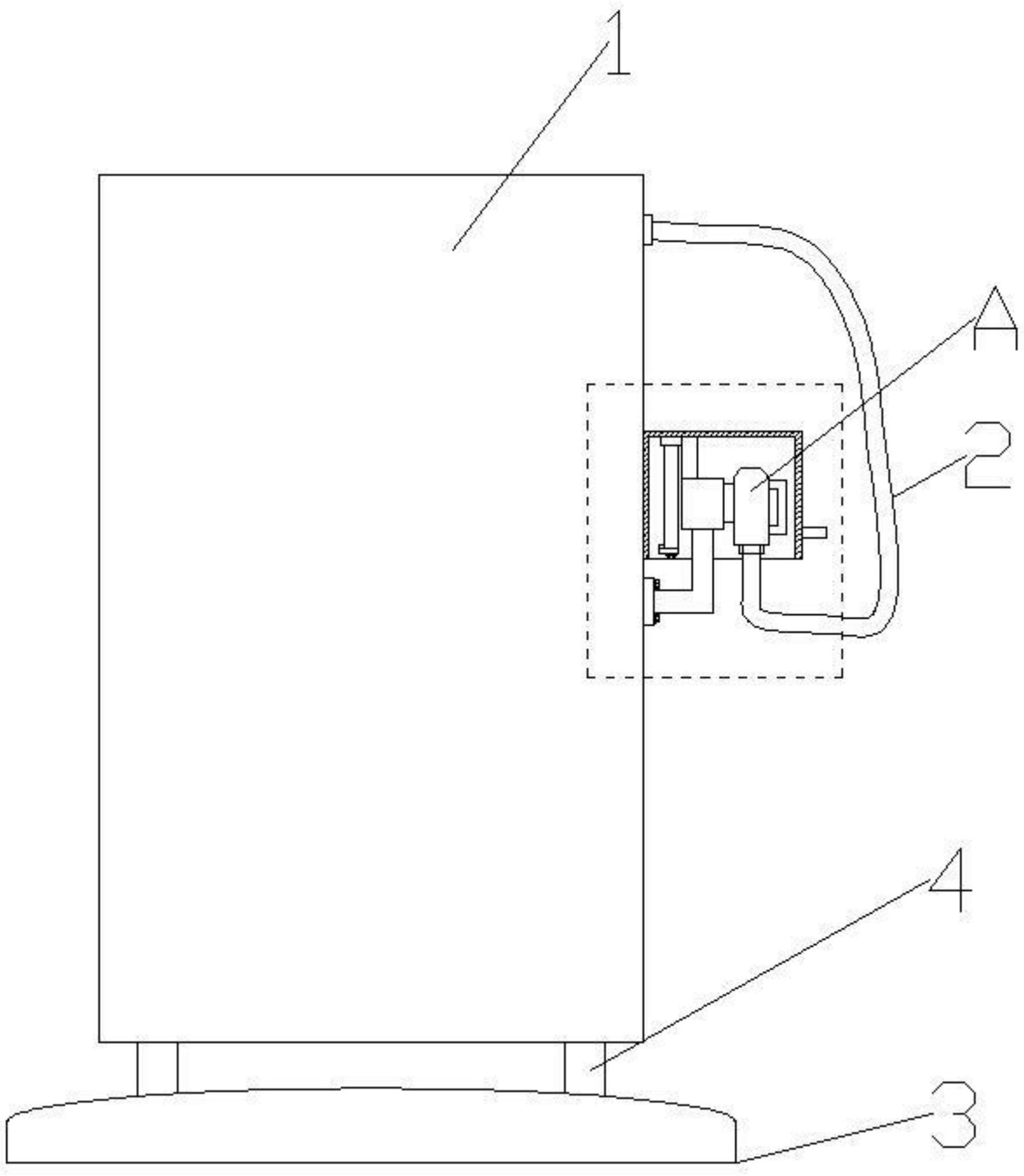
本实用新型提供了一种防雨式落地充电桩,包括充电桩本体、电线和充电插头,充电插头通过电线与充电桩本体连接,充电桩本体的侧面固定有支架,支架的竖直部的顶部固定有插座,插座的顶部固定有向上延伸的竖杆,竖杆的顶部水平固定有套环,套环内竖直套设有滑杆,滑杆的顶部固定有防雨罩,滑杆的顶部固定在防雨罩的顶部内壁上,滑杆的底部固定有防脱块,本实用新型的防雨式落地充电桩,将充电插头、插座等结构完全包围在防雨罩的内侧,避免了雨水对充电插头的侵蚀,防雨罩的开口设置在其底部,通过向上移动防雨罩可将充电插头显现出来,防雨效果更好,滑杆、竖杆和套环等结构始终位于防雨罩的内侧,提高零部件的耐久度。


