授权公布号:CN215381252U
一种石榴饮料加工用灭菌装置
有效
申请
2021-07-26
申请公布
1970-01-01
授权
2022-01-04
预估到期
2031-07-26
| 申请号 | CN202121707657.3 |
| 申请日 | 2021-07-26 |
| 授权公布号 | CN215381252U |
| 授权公告日 | 2022-01-04 |
| 分类号 | A23L2/46;A23L2/50;A23L2/42 |
| 分类 | 其他类不包含的食品或食料;及其处理; |
| 申请人名称 | 安徽省怀远县亚太石榴酒有限公司 |
| 申请人地址 | 安徽省蚌埠市怀远县怀唐路89号 |
专利法律状态
2022-01-04
授权
状态信息
授权
摘要
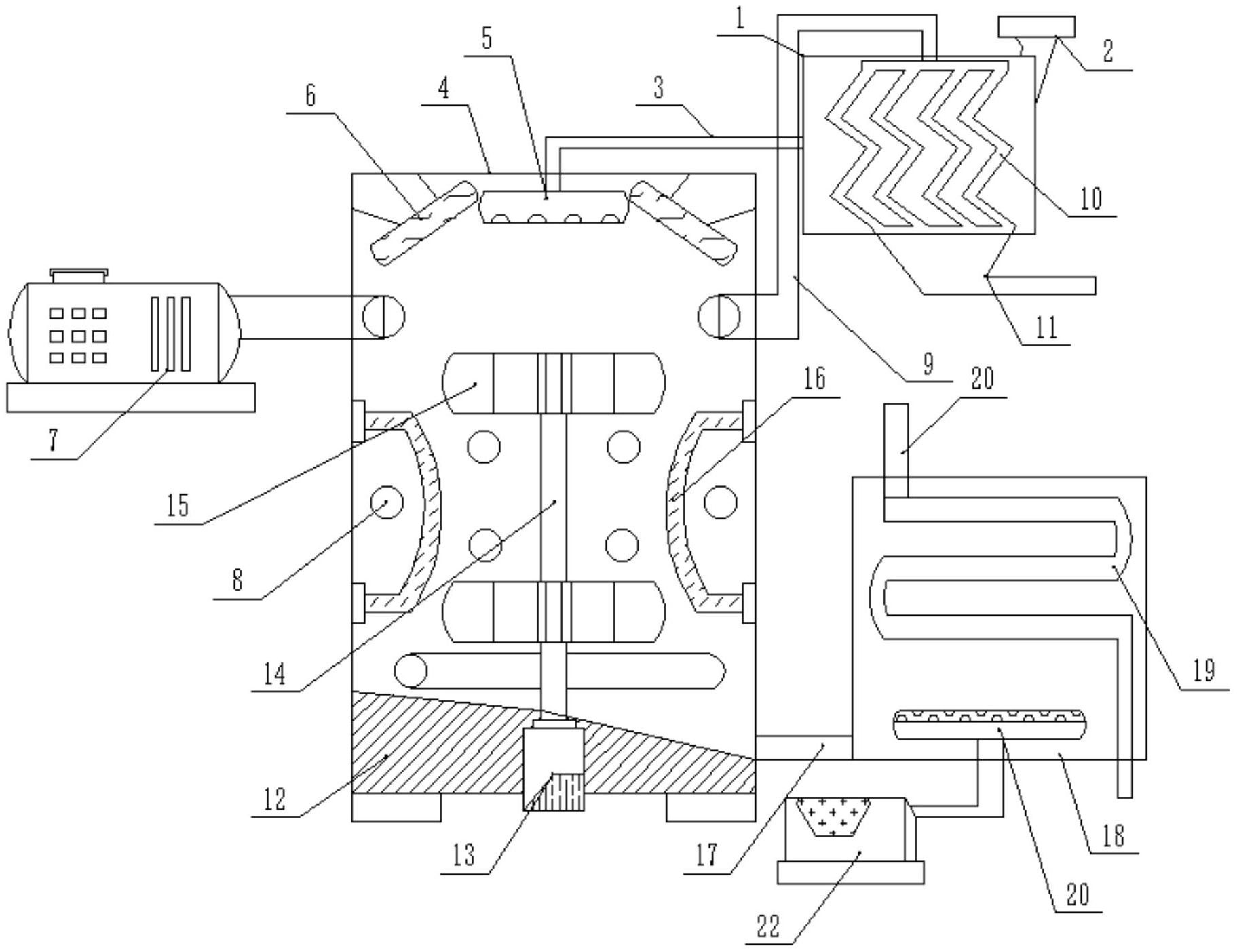
本实用新型公开了一种石榴饮料加工用灭菌装置,属于石榴饮料领域,包括灭菌机构和冷却机构,所述的灭菌机构包括蒸汽灭菌组件、紫外灯灭菌组件和臭氧灭菌组件,蒸汽灭菌组件和紫外灯灭菌组件安装在灭菌罐内,冷却机构包括冷却箱和冷水管,冷水管弯曲穿过冷却箱设置,冷却箱内部设有臭氧灭菌组件,灭菌罐通过饮料传输管和冷却箱连通。本实用新型蒸汽灭菌、紫外灯灭菌对石榴饮料进行消毒灭菌,在通过冷却箱中的臭氧灭菌组件对起喷出臭氧,再次对饮料进行消毒灭菌,多次消毒灭菌保证对石榴饮料灭菌消毒的彻底,利于对石榴饮料的进行安全消毒,利于保证石榴饮料的质量和安全,保证安全性。


