授权公布号:CN208502615U
一种密封防水窗
有效
申请
2018-06-29
申请公布
1970-01-01
授权
2019-02-15
预估到期
2028-06-29
| 申请号 | CN201821041451.X |
| 申请日 | 2018-06-29 |
| 授权公布号 | CN208502615U |
| 授权公告日 | 2019-02-15 |
| 分类号 | E06B7/18 |
| 分类 | 一般门、窗、百叶窗或卷辊遮帘;梯子; |
| 申请人名称 | 河北索菲特门窗有限公司 |
| 申请人地址 | 河北省衡水市安平县安平镇南张沃村村北400米处 |
专利法律状态
2019-02-15
授权
状态信息
授权
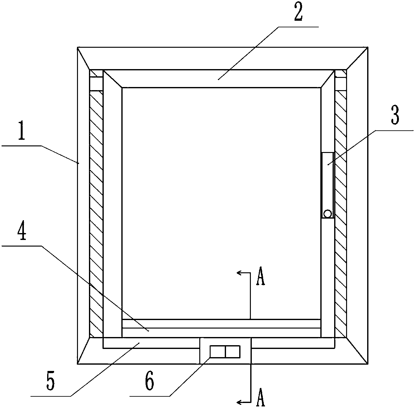
摘要
本实用新型提出了一种密封防水窗,包括安装在窗户墙体的固定框体,以及与固定框体配合的活动框体,所述活动框体侧壁设有用于将活动框体和固定框体固定的锁具,所述活动框体的底壁开设一道沿长度方向上的横槽,所述横槽中滑动连接有一块可被磁铁吸引的金属性的滑块,所述横槽中设有若干正常状态下可将滑块牵引在横槽中的拉簧,所述固定框体的底壁的中部开设竖槽,所述竖槽中转到设有换向球;所述固定框体的底壁的表面设有转换手柄,所述转换手柄和换向球之间连接有用于传动的转轴,本方案通过特殊的结构能够良好的密封住窗户窗框之间的间隙,避免外界的雨水浸透窗户。


