授权公布号:CN218808866U
一种焊条翻转装置
有效
申请
2022-11-24
申请公布
1970-01-01
授权
2023-04-07
预估到期
2032-11-24
| 申请号 | CN202223121273.0 |
| 申请日 | 2022-11-24 |
| 授权公布号 | CN218808866U |
| 授权公告日 | 2023-04-07 |
| 分类号 | B65G47/84;B65G47/252 |
| 分类 | 输送;包装;贮存;搬运薄的或细丝状材料; |
| 申请人名称 | 天津市金桥焊材集团股份有限公司 |
| 申请人地址 | 天津市东丽区开发区六经路1号 |
专利法律状态
2023-04-07
授权
状态信息
授权
摘要
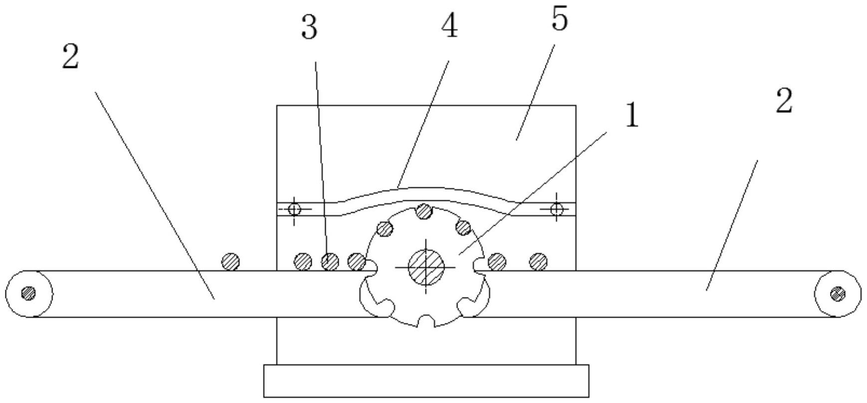
本实用新型提供了一种焊条翻转装置,包括两条并排设置的、用于传送焊条的传送单元,以及在两条传送单元之间设置的、由电机驱动的翻转轮,所述翻转轮中心线和传送单元顶面同水平面设置,所述翻转轮圆周面轴向开设有凹槽,所述凹槽的槽底为内凹圆弧面结构,该凹槽的两个侧壁分别为沿翻转轮径向设置的平面结构,且凹槽侧壁和凹槽槽底平滑过渡。本实用新型中,翻转轮中心和输送单元顶面平齐,翻转轮上凹槽槽底为内凹圆弧面,槽壁为沿翻转轮径向设置的平面结构,使得翻转轮能够顺畅接收焊条、顺畅释放焊条,保证焊条能够均匀干燥,且能够防止挤压焊条问题发生。


