授权公布号:CN211847103U
一种桑果白兰地灌装用的滴落集合装置
有效
申请
2020-01-15
申请公布
1970-01-01
授权
2020-11-03
预估到期
2030-01-15
| 申请号 | CN202020082345.7 |
| 申请日 | 2020-01-15 |
| 授权公布号 | CN211847103U |
| 授权公告日 | 2020-11-03 |
| 分类号 | B67C3/22 |
| 分类 | 开启或封闭瓶子、罐或类似的容器;液体的贮运; |
| 申请人名称 | 句容市东方紫酒业有限公司 |
| 申请人地址 | 江苏省镇江市句容市茅山镇春城桑园路1号 |
专利法律状态
2020-11-03
授权
状态信息
授权
摘要
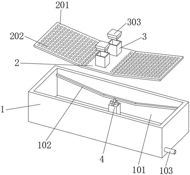
本实用新型公开了一种桑果白兰地灌装用的滴落集合装置,涉及果酒加工领域。该桑果白兰地灌装用的滴落集合装置包括收集盒和过滤组件,收集盒的内部开设有收集室,过滤组件包括固定板和斜板,且两组斜板固定连接在固定板的两侧,斜板与固定板之间呈三十度倾斜角,斜板上开设有过滤网孔,收集室的两侧固定连接有与过滤组件相对应的支撑条,过滤组件的底部与支撑条的上表面相贴合,收集室的底壁固定连接有两组固定组件。该桑果白兰地灌装用的滴落集合装置实现了在灌装桑果白兰地时,便于对杂质进行清理,过滤组件便于安装和拆卸,因此便于定期对过滤组件进行清洗,便于对收集室进行清洗,进而保证了装置的卫生。


