授权公布号:CN211847109U
一种用于桑果酒的自动灌瓶机构
有效
申请
2020-02-17
申请公布
1970-01-01
授权
2020-11-03
预估到期
2030-02-17
| 申请号 | CN202020173675.7 |
| 申请日 | 2020-02-17 |
| 授权公布号 | CN211847109U |
| 授权公告日 | 2020-11-03 |
| 分类号 | B67C3/24 |
| 分类 | 开启或封闭瓶子、罐或类似的容器;液体的贮运; |
| 申请人名称 | 句容市东方紫酒业有限公司 |
| 申请人地址 | 江苏省镇江市句容市茅山镇春城桑园路1号 |
专利法律状态
2020-11-03
授权
状态信息
授权
摘要
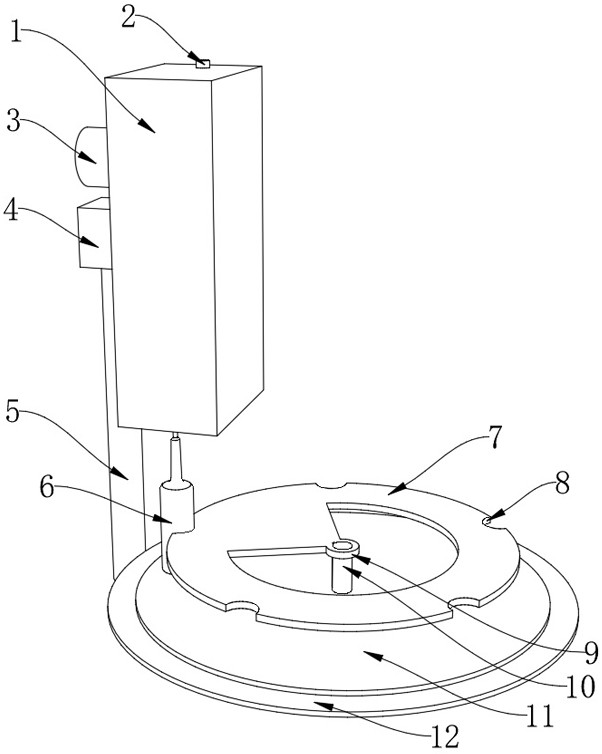
本实用新型公开了一种用于桑果酒的自动灌瓶机构,包括壳体,所述壳体顶面的右侧设置有入料口,所述壳体后端面中间设置有矩形块,所述矩形块的上方设置有电机,所述矩形块的下方设置有支撑杆,所述壳体底面的左侧设置有出料口,所述出料口的下方设置有酒瓶,所述酒瓶的外表面设置有转盘A,所述转盘A的中间设置有套环,所述套环的中间设置有转轴A,所述酒瓶的下方设置有转盘B,所述转盘B的下方设置有底盘,所述壳体内部的右上方设置有转盘C,所述转盘C的中间设置有转轴B,所述转盘C前端面的靠外侧设置有小圆杆。本实用新型通过在转盘A的外侧设置半圆凹槽使酒瓶在转动运输的过程中保持稳定,通过设置单向阀,确保液体不会回流。


