授权公布号:CN217512262U
一种食品配料过滤设备
有效
申请
2021-03-30
申请公布
1970-01-01
授权
2022-09-30
预估到期
2031-03-30
| 申请号 | CN202120642779.2 |
| 申请日 | 2021-03-30 |
| 授权公布号 | CN217512262U |
| 授权公告日 | 2022-09-30 |
| 分类号 | B07B1/28;B07B1/42;B07B1/46 |
| 分类 | 将固体从固体中分离;分选; |
| 申请人名称 | 山东天博食品配料有限公司 |
| 申请人地址 | 山东省济宁市高新区接庄街道海川路6号 |
专利法律状态
2022-09-30
授权
状态信息
授权
2021-03-30
公布
状态信息
公布
摘要
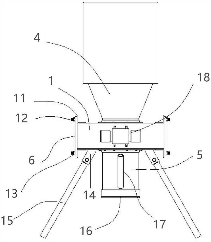
本实用新型公开了一种食品配料过滤设备,包括箱体,在所述箱体的上端设置有进料孔,在所述箱体的下端设置有出料孔,所述进料孔和所述出料孔的孔径均小于所述箱体的宽度,在所述进料孔位置处法兰连接有进料斗,在所述出料孔的位置处法兰连接有出料管,所述箱体的左右两端贯通,在所述箱体的左右两端处插入有内箱体,两个所述内箱体插入后相抵,所述内箱体具有一块进料斜板和一块出料斜板,所述进料斜板向着所述进料孔处倾斜;本装置通过下料斗进行下料,通过两个从箱体两端推入的内箱体进行过筛,筛选出来的粗颗粒被收纳在内箱体内,而合格粒径的粉末配料则通过出料管向下被导出,后期将内箱体取出,即可将筛选出的颗粒物导出。


