授权公布号:CN207619366U
一种红枣皮渣酿酒发酵装置
有效
申请
2017-11-30
申请公布
1970-01-01
授权
2018-07-17
预估到期
2027-11-30
| 申请号 | CN201721642062.8 |
| 申请日 | 2017-11-30 |
| 授权公布号 | CN207619366U |
| 授权公告日 | 2018-07-17 |
| 分类号 | C12G3/02 |
| 分类 | 生物化学;啤酒;烈性酒;果汁酒;醋;微生物学;酶学;突变或遗传工程; |
| 申请人名称 | 河北万果红酒业有限公司 |
| 申请人地址 | 河北省石家庄市行唐县上方乡上方村村南 |
专利法律状态
2018-07-17
授权
状态信息
授权
摘要
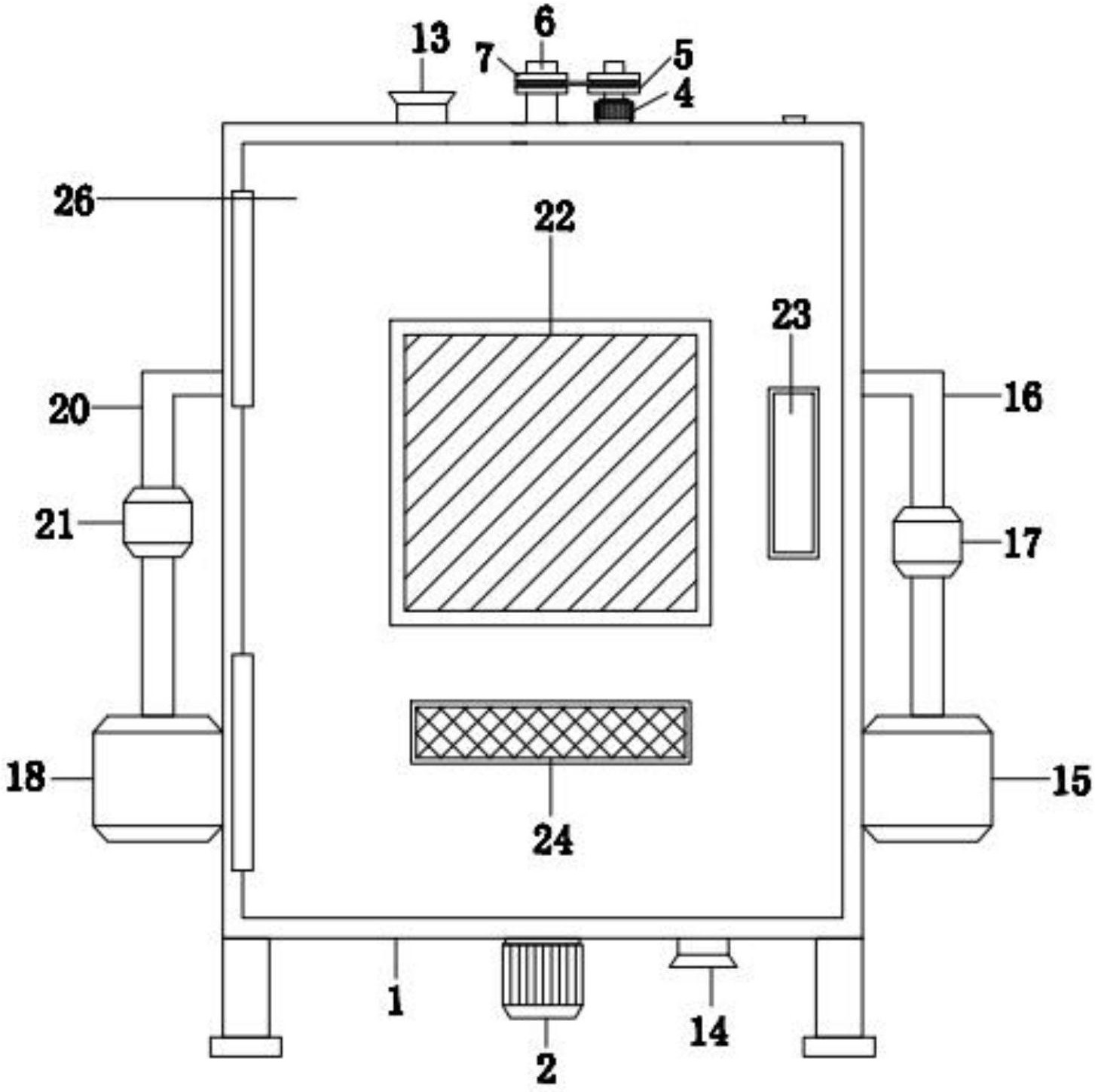
本实用新型公开的属于酒的发酵设备技术领域,具体为一种红枣皮渣酿酒发酵装置,所述工作箱顶端的右侧设置有电机,所述电机顶端的动力输出端通过传动杆设置有主动轮,所述工作箱内腔顶端的中央位置插接有旋转轴,且旋转轴的底端贯穿发酵罐内腔的顶端延伸至发酵罐内腔的底端,通过设置温度传感器和湿度传感器,对其进行温度和湿度的实时检测,在控制面板上的显示面板上显示,便于查看,通过设置搅拌叶片,对发酵的红枣皮渣进行搅拌,有效提高其发酵效果,通过设置冷风机和暖风机,使得发酵罐内的温度和湿度达到恒定,本实用新型结构合理,使用方便,发酵效果好,有效提高酒的质量。


