授权公布号:CN218782875U
一种用于固定间隔出线柜的互感器固定装置
有效
申请
2022-11-30
申请公布
1970-01-01
授权
2023-03-31
预估到期
2032-11-30
| 申请号 | CN202223205641.X |
| 申请日 | 2022-11-30 |
| 授权公布号 | CN218782875U |
| 授权公告日 | 2023-03-31 |
| 分类号 | H01F27/06;H01F27/29 |
| 分类 | 基本电气元件; |
| 申请人名称 | 西安秦骊成套电器有限公司 |
| 申请人地址 | 陕西省西安市高新区丈八街办沣惠南路16号18幢13101室 |
专利法律状态
2023-03-31
授权
状态信息
授权
摘要
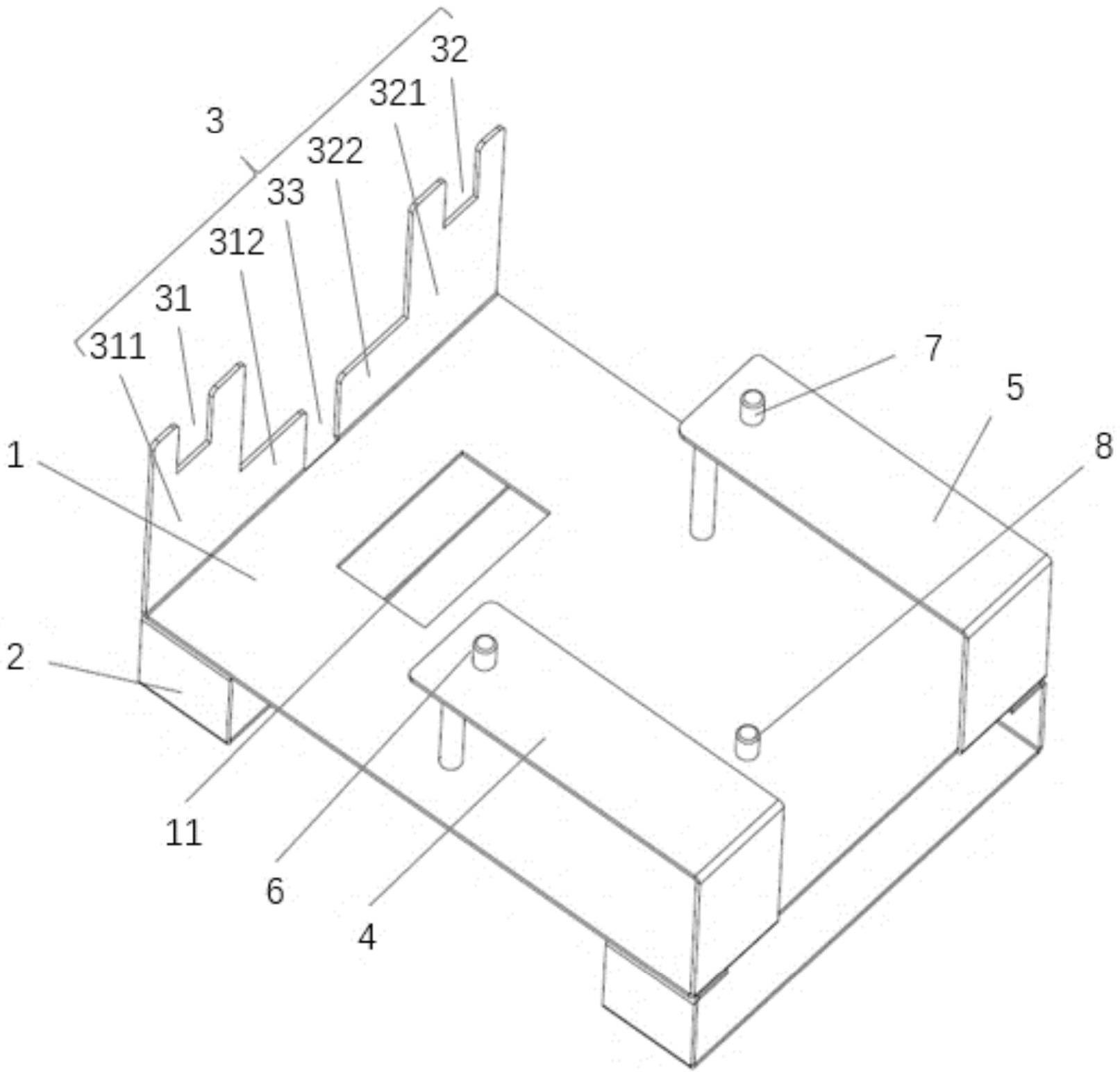
本实用新型涉及互感器固定装置,具体涉及一种用于固定间隔出线柜的互感器固定装置,用于解决现有固定间隔出线柜由于柜体内可操作空间小,无法在安装好铜排以后再固定互感器,导致后续调整时需拆卸后重新定位,浪费大量工时的不足之处。该用于固定间隔出线柜的互感器固定装置包括安装板、底座、第一限位装置、第二限位装置、第三限位装置和定位端板,其中第一限位装置、第二限位装置和第三限位装置分别用于固定A相互感器及其铜排、C相互感器及其铜排、B相互感器及其铜排;本实用新型可适用于不同厂家250系列的互感器,具有体积小,结构简单,零件少,通用性强的特点。


