授权公布号:CN218218701U
一种猫用展示房
有效
申请
2022-05-25
申请公布
1970-01-01
授权
2023-01-06
预估到期
2032-05-25
| 申请号 | CN202221282115.0 |
| 申请日 | 2022-05-25 |
| 授权公布号 | CN218218701U |
| 授权公告日 | 2023-01-06 |
| 分类号 | A01K1/03;A01K1/01;A01K1/035 |
| 分类 | 农业;林业;畜牧业;狩猎;诱捕;捕鱼; |
| 申请人名称 | 袖虎(广州)宠物有限责任公司 |
| 申请人地址 | 广东省广州市天河区体育西路13号之一,之二135铺 |
专利法律状态
2023-01-06
授权
状态信息
授权
摘要
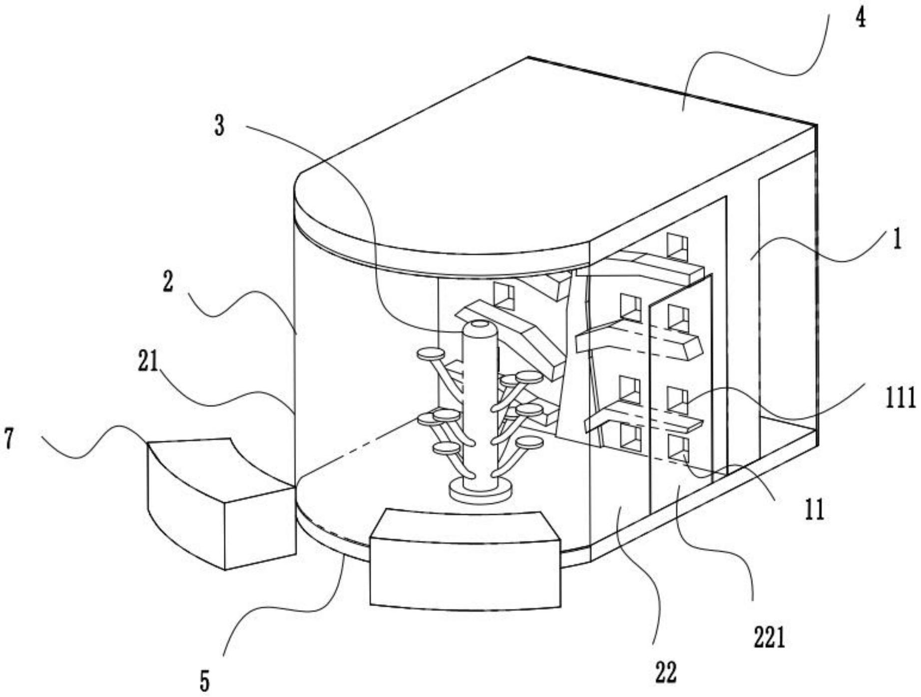
本实用新型提供了一种猫用展示房,涉及宠物展示领域,包括立柜墙、玻璃墙和猫爬架,所述立柜墙竖立设在屋顶与地面之间,所述玻璃墙连接所述立柜墙的首端和末端形成密闭空间,所述猫爬架设在密闭空间内,所述立柜设有多个厕所仓,所述厕所仓设有连通密闭空间的入口。通过玻璃墙与立柜墙形成较大的密闭空间可以放置多个宠物猫,供多个宠物猫进行自由活动,同时立柜墙设置的多个厕所仓供多个宠物猫进行排泄,但是不会影响密闭空间内的卫生等情况,因此该设计方便同时展示多个宠物猫,顾客可以同时观察多个宠物猫,对顾客更优吸引力,提高顾客的观看欲望和购买欲望。


