授权公布号:CN218421454U
一种制酒用过滤系统
有效
申请
2022-10-18
申请公布
1970-01-01
授权
2023-02-03
预估到期
2032-10-18
| 申请号 | CN202222740714.9 |
| 申请日 | 2022-10-18 |
| 授权公布号 | CN218421454U |
| 授权公告日 | 2023-02-03 |
| 分类号 | B01D33/15;C12H1/07;B01D33/74 |
| 分类 | 一般的物理或化学的方法或装置; |
| 申请人名称 | 贵州凯缘春酒业有限公司 |
| 申请人地址 | 贵州省黔东南苗族侗族自治州凯里市三棵树镇郎利村南尧大桥西南处 |
专利法律状态
2023-02-03
授权
状态信息
授权
摘要
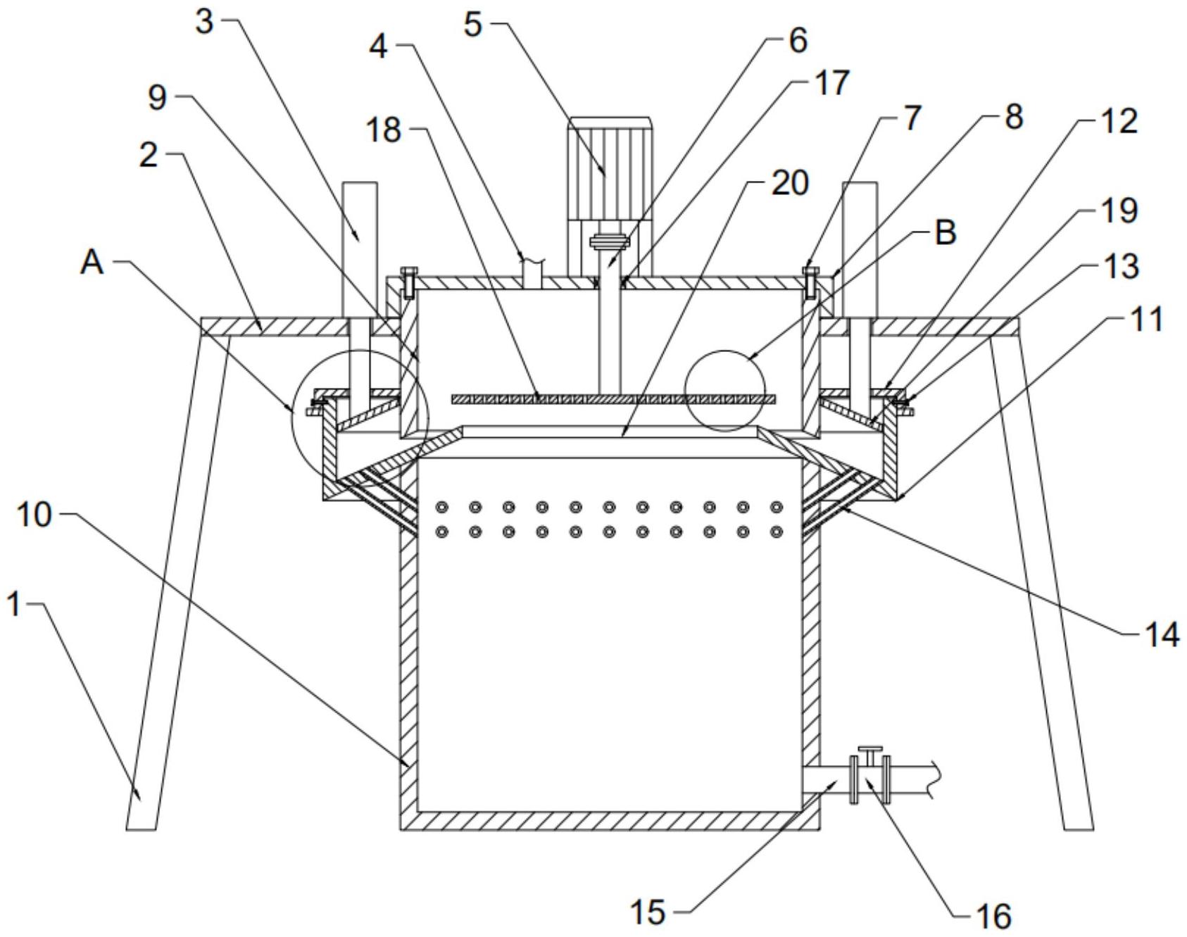
本实用新型涉及制酒技术领域,具体公开了一种制酒用过滤系统;包括过滤筒、收集桶、收集槽体、进料管、开设有若干过滤孔的过滤板、过滤槽体、过滤电机以及过滤轴,过滤槽体滑动连接过滤筒,过滤电机固定连接过滤槽体顶面,过滤轴一端固定连接过滤电机,另一端穿过过滤槽体并固定连接过滤板,过滤板在过滤筒内,收集槽体底面固定连接收集桶顶端,且底面中心处开设有通过孔,过滤板在通过孔正上方,收集槽体的内宽度大于过滤筒的外宽度,进料管固定在过滤槽体顶面上,本实用新型解决了现有技术中一种制酒过滤装置对压槽内压滤过后的杂质进行清理会降低酒的过滤效率的问题。


