授权公布号:CN217658906U
一种活动靠背结构
有效
申请
2022-04-25
申请公布
1970-01-01
授权
2022-10-28
预估到期
2032-04-25
| 申请号 | CN202220970256.5 |
| 申请日 | 2022-04-25 |
| 授权公布号 | CN217658906U |
| 授权公告日 | 2022-10-28 |
| 分类号 | A47C17/86;A47C17/04 |
| 分类 | 家具;家庭用的物品或设备;咖啡磨;香料磨;一般吸尘器; |
| 申请人名称 | 东莞戎马家具有限公司 |
| 申请人地址 | 广东省东莞市厚街镇赤岭村工业大道6号 |
专利法律状态
2022-10-28
授权
状态信息
授权
摘要
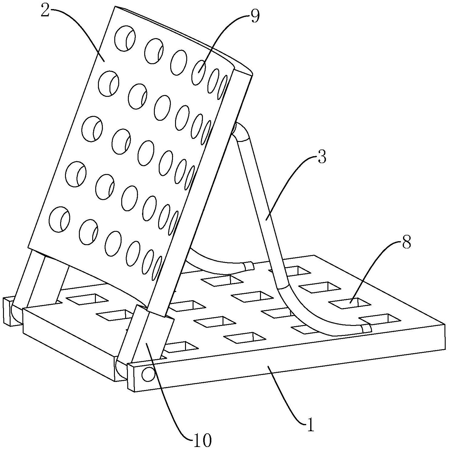
本申请涉及坐具配件的技术领域,具体公开了一种活动靠背结构,其技术方案要点是:包括支撑板,所述支撑板在使用时呈水平状态,所述支撑板的一边沿朝向上方设置有用于对人体背部进行支撑的背靠板,所述支撑板相对的另一边沿设置有用于对所述背靠板进行加固的加固杆,所述加固杆的另一端与所述背靠板连接。本申请具有便于靠枕单独实现靠背功能,从而有利于提高靠枕的适用性的效果。


