授权公布号:CN210287288U
一种酒类加工用高温瞬时杀菌机
有效
申请
2019-07-16
申请公布
1970-01-01
授权
2020-04-10
预估到期
2029-07-16
| 申请号 | CN201921113572.5 |
| 申请日 | 2019-07-16 |
| 授权公布号 | CN210287288U |
| 授权公告日 | 2020-04-10 |
| 分类号 | C12H1/18 |
| 分类 | 生物化学;啤酒;烈性酒;果汁酒;醋;微生物学;酶学;突变或遗传工程; |
| 申请人名称 | 大连阔神生物发酵制品有限公司 |
| 申请人地址 | 辽宁省大连市保税区二十里堡镇十三里村 |
专利法律状态
2020-04-10
授权
状态信息
授权
摘要
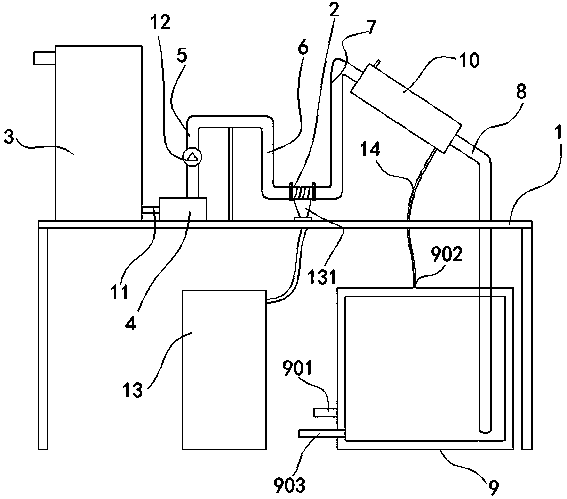
本实用新型公开了一种酒类加工用高温瞬时杀菌机,涉及液体杀菌技术领域。本实用新型包括工作台、管道泵、冷凝器,还包括高频感应加热机、酒水储液罐、双层冷凝储液罐、第一L形弯管和第二L形弯管;酒水储液罐、管道泵、第一L形弯管、第二L形弯管和冷凝器从左到右依次设置在工作台上表面;高频感应加热机和双层冷凝储液罐设置在工作台下方;高频感应加热机上的感应加热线圈固定在工作台上表面;酒水储液罐出液口通过第一连接管与管道泵进液口连接;管道泵出液口通过第二连接管与第一L形弯管竖向端部连接。本实用新型通过设计的高频感应加热机加热杀菌加热器进行生产灌装前杀菌的方式进行高温快速杀菌,整体结构占用空间小。


