授权公布号:CN217356627U
防爆智控箱
有效
申请
2022-05-31
申请公布
1970-01-01
授权
2022-09-02
预估到期
2032-05-31
| 申请号 | CN202221384027.1 |
| 申请日 | 2022-05-31 |
| 授权公布号 | CN217356627U |
| 授权公告日 | 2022-09-02 |
| 分类号 | F21S8/00;F21V15/01;F21V25/12;F21V23/00;F21V19/00;F21V31/00;F21V33/00;F21V3/00;F21V17/12;F21V21/00;F21W131/402N |
| 分类 | 照明; |
| 申请人名称 | 合隆防爆电气有限公司 |
| 申请人地址 | 浙江省温州市乐清经济开发区经七路477号 |
专利法律状态
2022-09-02
授权
状态信息
授权
摘要
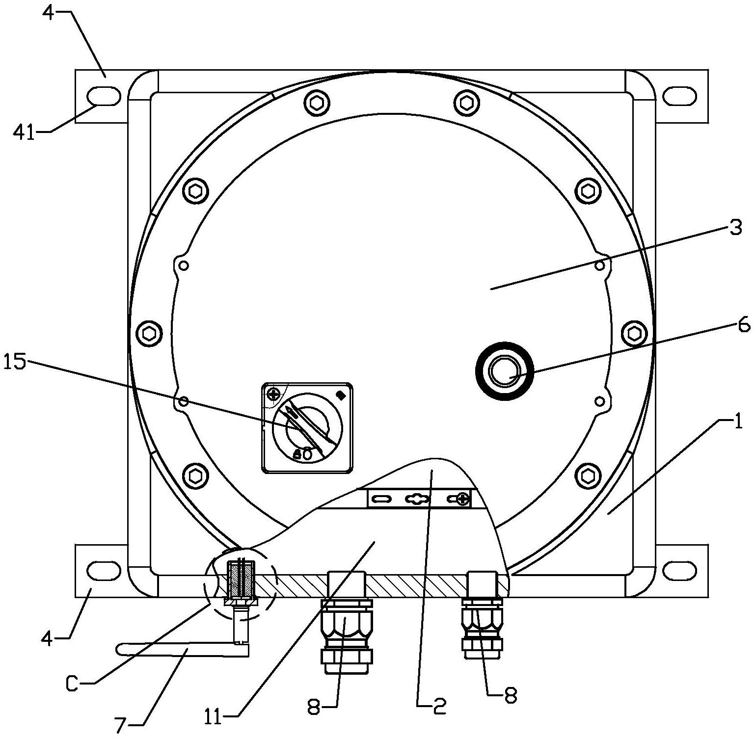
本实用新型涉及一种防爆智控箱,包括智能照明主控器,还包括防爆壳体,防爆壳体内设置有安装智能照明主控器的安装腔,防爆壳体前方设置有安装口及封闭安装口的防爆盖,防爆盖朝向防爆壳体外侧设置有防爆旋钮和防爆光源,防爆壳体侧面设置有防爆天线和多个防爆电缆夹紧密封接头,防爆壳体背面两侧对称设置有安装梁。采用上述方案,本实用新型提供一种提高防爆性能的防爆智控箱。


