授权公布号:CN206030819U
一体式自动装订机
有效
申请
2016-08-29
申请公布
1970-01-01
授权
2017-03-22
预估到期
2026-08-29
| 申请号 | CN201620969731.1 |
| 申请日 | 2016-08-29 |
| 授权公布号 | CN206030819U |
| 授权公告日 | 2017-03-22 |
| 分类号 | B42B5/02 |
| 分类 | 装订;图册;文件夹;特种印刷品; |
| 申请人名称 | 南京亚润科技有限公司 |
| 申请人地址 | 江苏省淮安市洪泽县南京高新开发区洪泽园区九牛路 |
专利法律状态
2023-11-24
专利申请权、专利权的转移
状态信息
专利权的转移;IPC(主分类):B42B5/02;专利号:ZL2016209697311;登记生效日:20231109;变更事项:专利权人;变更前权利人:南京亚润科技有限公司;变更后权利人:江苏亚润智能科技有限公司;变更事项:地址;变更前权利人:210000 江苏省南京市江宁区水阁路水长街29号;变更后权利人:223100 江苏省淮安市洪泽县南京高新开发区洪泽园区九牛路
2017-03-22
授权
状态信息
授权
摘要
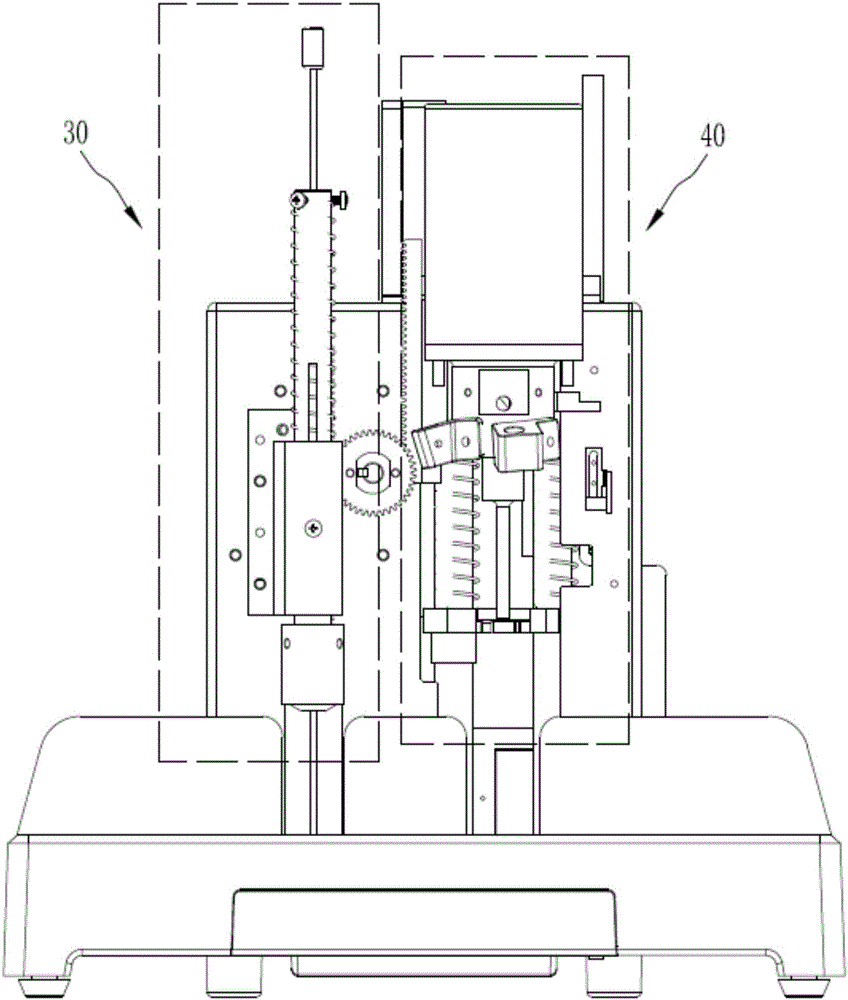
本实用新型涉及办公用具技术领域,具体涉及一种一体式自动装订机。其包括机架,所述机架上设置有驱动机构、压铆机构、打孔机构和切管机构,所述驱动机构包括升降驱动电机,所述升降驱动电机的输出轴上同轴安装有直径不同的压铆传动齿轮和打孔传动齿轮,所述压铆传动齿轮传动连接所述压铆机构,所述打孔传动齿轮传动连接所述打孔机构;所述打孔传动齿轮传动所述打孔机构升降时,所述压铆传动齿轮传动所述压铆机构向反方向运动。本实用新型既能改变打孔机构和压铆机构上下运动的行程和左右间距,又可以优化打孔或压铆的速度,使得机器小巧精致、零部件受力合理,整机使用寿命延长。


