授权公布号:CN214371418U
一种豆皮生产用烘干设备
有效
申请
2021-02-25
申请公布
1970-01-01
授权
2021-10-08
预估到期
2031-02-25
| 申请号 | CN202120416030.6 |
| 申请日 | 2021-02-25 |
| 授权公布号 | CN214371418U |
| 授权公告日 | 2021-10-08 |
| 分类号 | F26B9/10;F26B25/18;F26B21/00;F26B25/02;F26B25/00 |
| 分类 | 干燥; |
| 申请人名称 | 驻马店市慧沣食品科技有限公司 |
| 申请人地址 | 河南省驻马店市西平县迎宾大道中段路南(城南工业区平顺路南段路西) |
专利法律状态
2021-10-08
授权
状态信息
授权
摘要
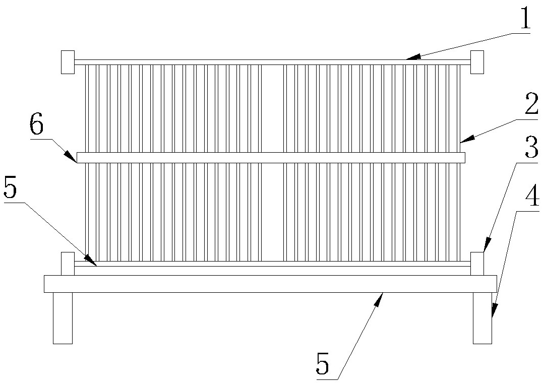
本实用新型涉及一种豆皮生产用烘干设备,包括晾晒杆、支撑矩形框、滚轮,所述的晾晒杆的下端面均匀排布散热管,所述的晾晒杆通过接头支座固定在支撑矩形框上,所述的散热管为多个金属管连通组成,所述的散热管为S型或竖直型排布;所述的散热管和接头支座之间设置有支撑板;所述的散热管的两侧设置有防烫翘板,所述的防烫翘板设置于散热管的中部。


