授权公布号:CN214516047U
一种辣条分拣设备
有效
申请
2021-02-25
申请公布
1970-01-01
授权
2021-10-29
预估到期
2031-02-25
| 申请号 | CN202120415519.1 |
| 申请日 | 2021-02-25 |
| 授权公布号 | CN214516047U |
| 授权公告日 | 2021-10-29 |
| 分类号 | B07B13/14;B07B13/16 |
| 分类 | 将固体从固体中分离;分选; |
| 申请人名称 | 驻马店市慧沣食品科技有限公司 |
| 申请人地址 | 河南省驻马店市西平县迎宾大道中段路南(城南工业区平顺路南段路西) |
专利法律状态
2021-10-29
授权
状态信息
授权
摘要
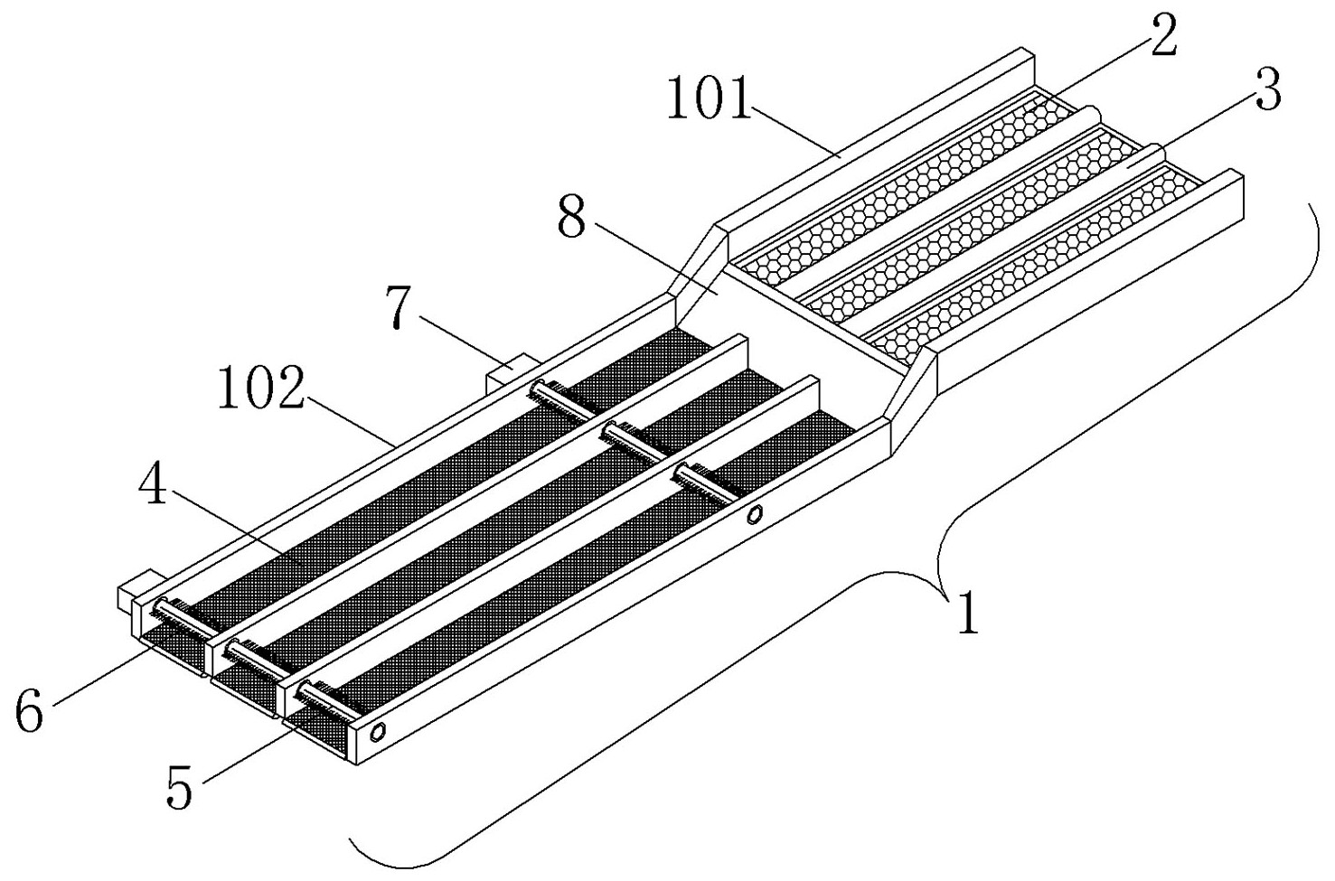
本实用新型涉及一种辣条分拣设备,包括运送台,所述运送台包括下料架和输送架,所述下料架的底部铺设于有滤网,所述滤网的两端设置有分隔带,所述输送架位于下料架的下方,所述输送架的内部安装有传送带,所述输送架位于传送带的上方贯穿有转杆,所述转杆的外围设有塑胶条,所述输送架的侧面安装有电机,所述电机的输出端与转杆连接。本实用新型具有如下有益效果:通过在运送台的下料架上铺设有滤网,可将辣条表面多余的油料过滤掉,然后进入下料架输送时,经过转杆外围的塑胶条拨动,将堆叠在一起的辣条分离开,避免相互粘连油料,导致布料不均匀的问题;同时塑胶条还可将辣条拨动成条状,避免横七竖八输送,导致分拣后装袋时影响美观。


