授权公布号:CN220180396U
喷墨印刷机的喷头保湿刮墨装置
有效
申请
2023-06-14
申请公布
1970-01-01
授权
2023-12-15
预估到期
2033-06-14
| 申请号 | CN202321527906.X |
| 申请日 | 2023-06-14 |
| 授权公布号 | CN220180396U |
| 授权公告日 | 2023-12-15 |
| 分类号 | B41J2/165 |
| 分类 | 印刷;排版机;打字机;模印机〔4〕; |
| 申请人名称 | 深圳市润天智数字设备股份有限公司 |
| 申请人地址 | 广东省深圳市龙华区观湖街道鹭湖社区观宝路9号101 |
专利法律状态
2023-12-15
授权
状态信息
授权
摘要
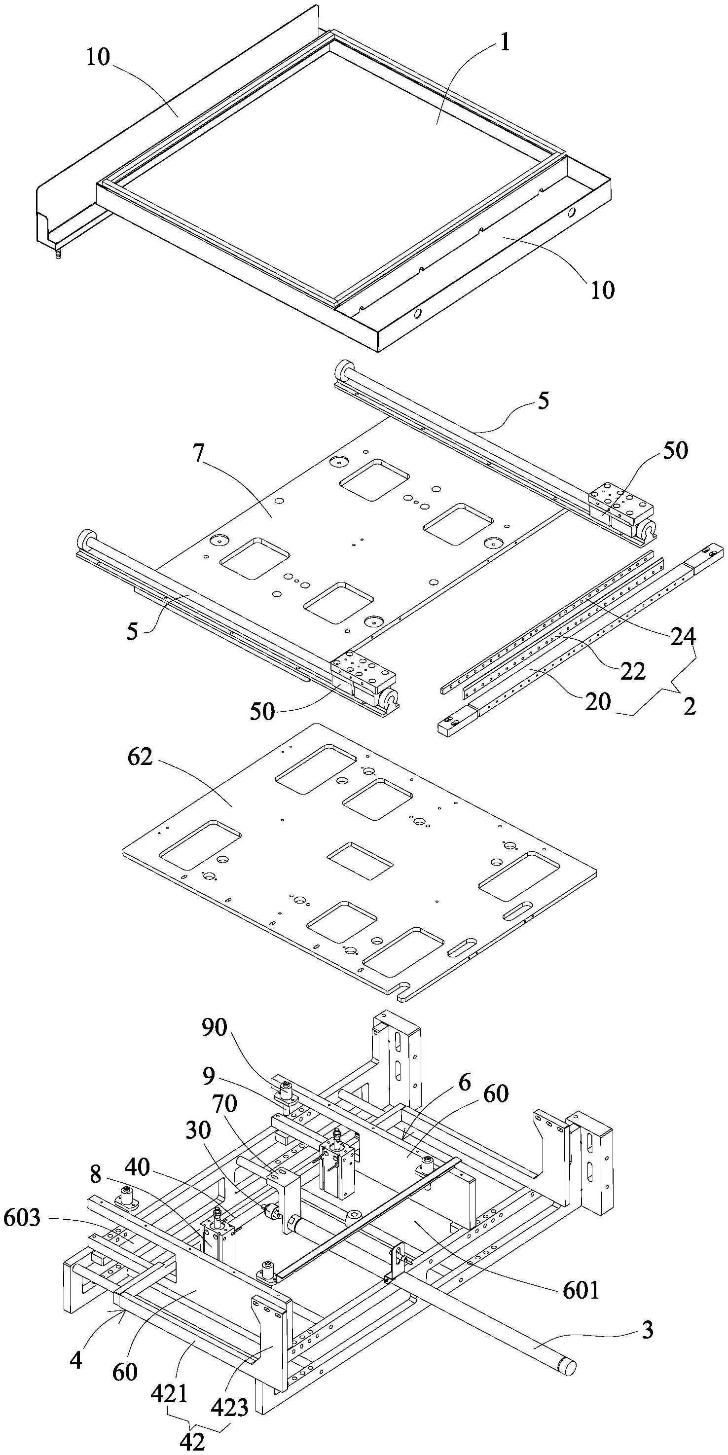
本实用新型实施例提供一种喷墨印刷机的喷头保湿刮墨装置,包括组装于喷墨印刷机的喷头模组停机位置下方的保湿盘、横设于保湿盘上方的刮墨板以及与刮墨板相连用于驱动刮墨板在喷头模组底部往复移动以对喷头模组的喷墨端实施刮墨作业的刮墨驱动件,刮墨驱动件组装于保湿盘下方,刮墨驱动件的输出轴借助转接支架与刮墨板相连,转接支架包括横设于保湿盘下方且相对两端分别从保湿盘相对两侧伸出的支撑杆以及分别设置于保湿盘两侧且均以一端与支撑杆相连而另一端向上延伸与刮墨板相应端部相对固定的连接杆,刮墨驱动件的输出轴与支撑杆相连。本实施例能优化空间布局,减小占用体积。


