授权公布号:CN218260591U
一种食品送料装置
有效
申请
2022-08-18
申请公布
1970-01-01
授权
2023-01-10
预估到期
2032-08-18
| 申请号 | CN202222179841.6 |
| 申请日 | 2022-08-18 |
| 授权公布号 | CN218260591U |
| 授权公告日 | 2023-01-10 |
| 分类号 | B65G47/52;B65G47/22;B65G45/02 |
| 分类 | 输送;包装;贮存;搬运薄的或细丝状材料; |
| 申请人名称 | 新乡市口口妙食品有限公司 |
| 申请人地址 | 河南省新乡市新秀路中段东郭工业区 |
专利法律状态
2023-01-10
授权
状态信息
授权
摘要
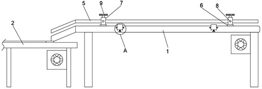
本实用新型提供一种食品送料装置,属于输送设备技术领域,一种食品送料装置,包括第一输送架和与第一输送架配合使用的第二输送架,所述第一输送架上间隔设置有用于输送面包的第一输送带和第二输送带,所述第一输送架朝向第二输送架的一端自上而下倾斜设置,所述第一输送架上位于第一输送带和第二输送带对应的侧面上分别设置有挡料组件,在对面包进行输送时,上个输送设备将面包输送到第一输送架上,第一输送架通过第一输送带和第二输送带将面包输送到第二输送架上,由于第一输送架与第二输送架连接的一端为倾斜设置,这样就避免了面包掉落地面的上情况,也可准确的输送到第二输送架的料口处。


