授权公布号:CN215004984U
水质重金属在线监测仪的阻尼进样装置
有效
申请
2020-12-31
申请公布
1970-01-01
授权
2021-12-03
预估到期
2030-12-31
| 申请号 | CN202023320849.7 |
| 申请日 | 2020-12-31 |
| 授权公布号 | CN215004984U |
| 授权公告日 | 2021-12-03 |
| 分类号 | G01N21/64;G01N21/01;G01N1/10 |
| 分类 | 测量;测试; |
| 申请人名称 | 中绿环保科技股份有限公司 |
| 申请人地址 | 山西省太原市太原高新区中心北街以南山西环保科技园 |
专利法律状态
2021-12-03
授权
状态信息
授权
摘要
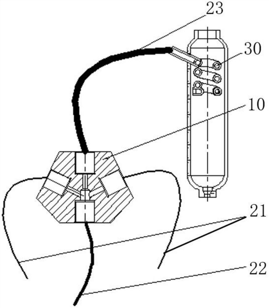
本实用新型提供的水质重金属在线监测仪的阻尼进样装置,包括:混合进样器、阻尼管、载气管和缓冲管;混合进样器设有试剂口、载气口、混合液出口;试剂口为多个,每个试剂口均连接有一个阻尼管,载气口与载气管连接,混合液出口与缓冲管连接。本实用新型提供的水质重金属在线监测仪的阻尼进样装置,能有效减少试剂混合后剧烈反应对试剂进样流量的影响。


