授权公布号:CN212631373U
室内高效热雾化装置
有效
申请
2020-03-05
申请公布
1970-01-01
授权
2021-03-02
预估到期
2030-03-05
| 申请号 | CN202020254031.0 |
| 申请日 | 2020-03-05 |
| 授权公布号 | CN212631373U |
| 授权公告日 | 2021-03-02 |
| 分类号 | A61M11/00 |
| 分类 | 医学或兽医学;卫生学; |
| 申请人名称 | 江苏童医医疗器械有限公司 |
| 申请人地址 | 江苏省南通市海安市南莫镇工业园 |
专利法律状态
2021-03-02
授权
状态信息
授权
摘要
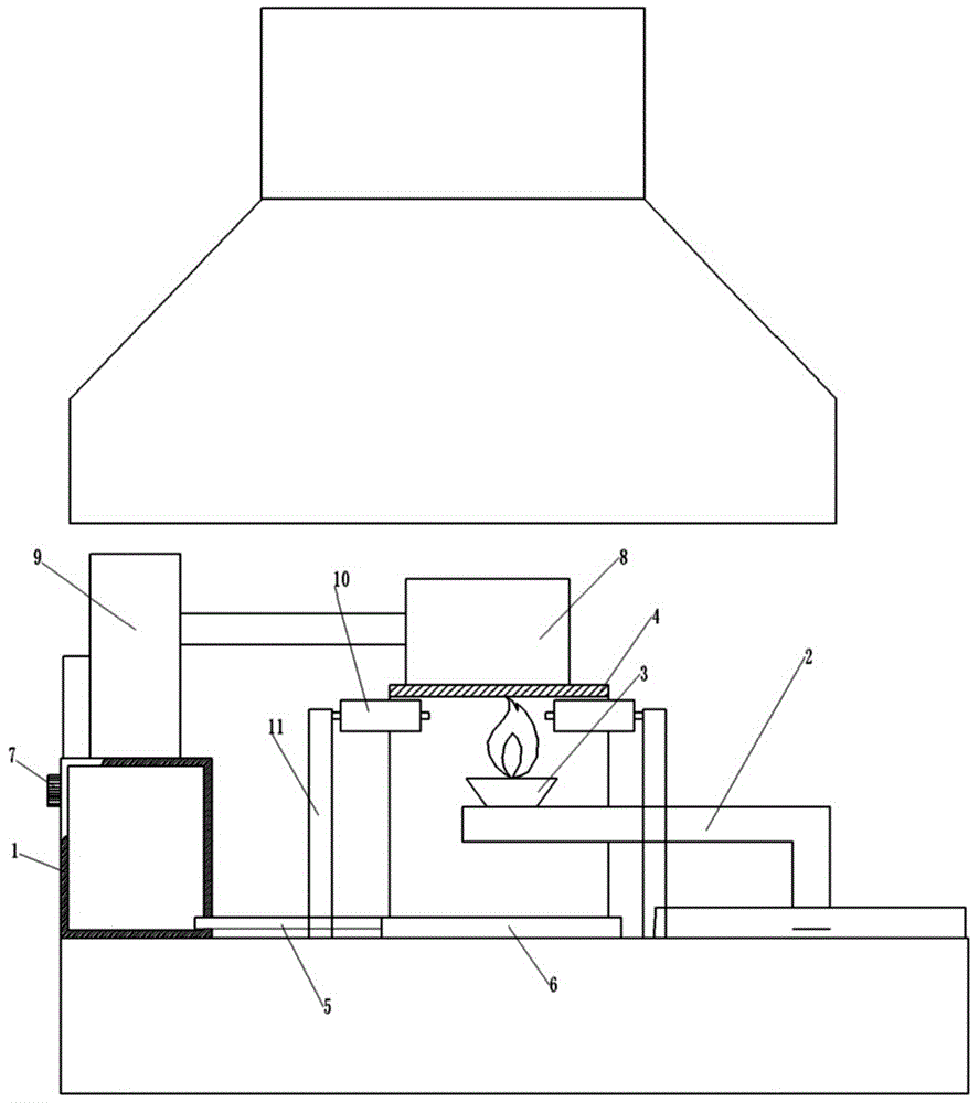
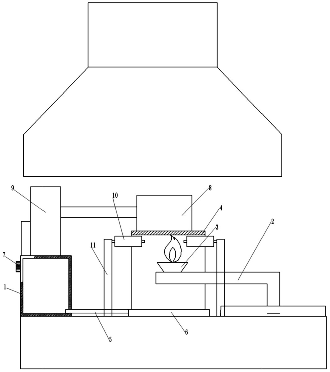
本实用新型提供了室内高效热雾化装置,包括储液罐、与所述储液罐连接的热雾化机构,所述热雾化机构含有油灯支架、设于所述油灯支架的油灯、圆形圈、输液管、液槽,所述输液管的一端与所述储液罐的底部连接,有益效果:本装置雾化彻底、雾化量大、雾化时间长,出雾量大,满足大范围的病区的雾化消杀。


