授权公布号:CN112388218B
一种具有金属缝合机构的腕部固定带加工装置
有效
申请
2020-09-29
申请公布
2021-02-23
授权
2022-03-22
预估到期
2040-09-29
| 申请号 | CN202011044751.5 |
| 申请日 | 2020-09-29 |
| 申请公布号 | CN112388218A |
| 申请公布日 | 2021-02-23 |
| 授权公布号 | CN112388218B |
| 授权公告日 | 2022-03-22 |
| 分类号 | B23K37/04;B23K37/02;B23K37/00 |
| 分类 | 机床;不包含在其他类目中的金属加工; |
| 申请人名称 | 江苏爱护佳健康科技有限公司 |
| 申请人地址 | 江苏省盐城市经济技术开发区长江路19号 |
专利法律状态
2023-11-10
专利实施许可合同备案的生效、变更及注销
状态信息
专利实施许可合同备案的生效;IPC(主分类):B23K 37/04;专利申请号:2020110447515;专利号:ZL2020110447515;合同备案号:X2023980044043;让与人:江苏爱护佳健康科技有限公司;受让人:江苏爱护佳医疗设备有限公司;发明名称:一种具有金属缝合机构的腕部固定带加工装置;申请日:20200929;申请公布日:20210223;授权公告日:20220322;许可种类:普通许可;备案日期:20231024
2022-03-22
授权
状态信息
授权
2021-03-12
实质审查的生效
状态信息
实质审查的生效;IPC(主分类):B23K37/04;申请日:20200929
2021-02-23
公布
状态信息
公布
摘要
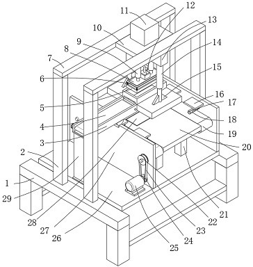
本发明提供一种具有金属缝合机构的腕部固定带加工装置,属于医疗器械生产技术领域,该具有金属缝合机构的腕部固定带加工装置包括底架,所述底架的上表面固定连接有支撑杆,所述支撑杆的上表面固定连接有支撑横板,所述支撑横板的下表面固定连接有第一液压器,所述支撑横板的下表面固定连接有固定块,所述固定块的下表面固定连接有第二液压器。通过设置第二传送带,可以将原料送到工作台上,通过第一传送带,可以将辅助布料送到限位板内,由挡板进行承接,在第二液压器的作用下,使限位板下降直至贴到原料上然后停止,然后液压杆开始工作,使挡板收到固定盒内,辅料在重力作用下往下落,从而解决了现有技术中给金属板固定时不方便的问题。


